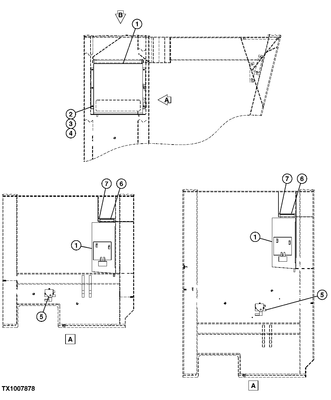
Запчасти John Deere 7C ZTS 444 - REAR ENTRY CAB HEATER AND AIR CONDITIONER UNIT MOUNTING (WITH CAB RISER) 1830C REAR ENTRY CAB HEATING AND AIR CONDITIONING

Схема запчастей John Deere 7C ZTS - 444 - REAR ENTRY CAB HEATER AND AIR CONDITIONER UNIT MOUNTING (WITH CAB RISER) 1830C REAR ENTRY CAB HEATING AND AIR CONDITIONING
FIT
1:1
100%

Артикул

Название

Примечание

Количество

1

FFSB109074

Evaporator

1шт.

2

19M7286

Cap Screw

M6 X 25 (SUB FOR FFSB108287 AND J900625)

6шт.

3

24M7054

Washer

6.400 X 12 X 1.600 mm (SUB FOR FFSB107438 AND J250006)

6шт.

4

12M7006

Lock Washer

6 mm (SUB FOR FFSB107439 AND J252106)

6шт.

5

AT192174

Valve

Thermostatic Control V alve SUB FOR FFSB105429

1шт.

FFSB113454

Thermostatic Control Valve

1шт.

6

FFSB102834

Weatherstrip

(CTL 435 mm (17.13 in.) (SUB FOR FFSB112156, FFSB112178)

2шт.

7

TY22328

Bulk Hose

(CTL 1770 mm (69.68 in .) (SUB FOR FFSB112157)

2шт.

Выбрано товаров: 8