Запчасти John Deere 7C ZTS 449 - RIGHT SIDE HYDRAULIC RESERVOIR COVER PANEL 1910 HOOD, SIDE PANELS, SHIELDS, AND ACCESS DOORS

Схема запчастей John Deere 7C ZTS - 449 - RIGHT SIDE HYDRAULIC RESERVOIR COVER PANEL 1910 HOOD, SIDE PANELS, SHIELDS, AND ACCESS DOORS
FIT
1:1
100%

Артикул

Название

Примечание

Количество

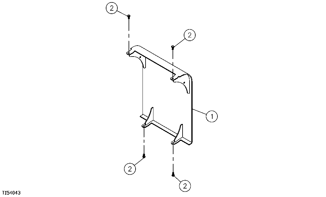
1

FFSB111064

Guard

1шт.

2

12M7058

Lock Washer

12 mm (SUB FOR AT153806 ) (AL SO ORDER 19M7662 AND 24M7346)

4шт.

Выбрано товаров: 2