Запчасти John Deere 7C ZTS 458 - RADIATOR AND STORAGE COMPARTMENT DIVIDING PANEL AND ISOLATORS 1910 HOOD, SIDE PANELS, SHIELDS, AND ACCESS DOORS

Схема запчастей John Deere 7C ZTS - 458 - RADIATOR AND STORAGE COMPARTMENT DIVIDING PANEL AND ISOLATORS 1910 HOOD, SIDE PANELS, SHIELDS, AND ACCESS DOORS
FIT
1:1
100%

Артикул

Название

Примечание

Количество

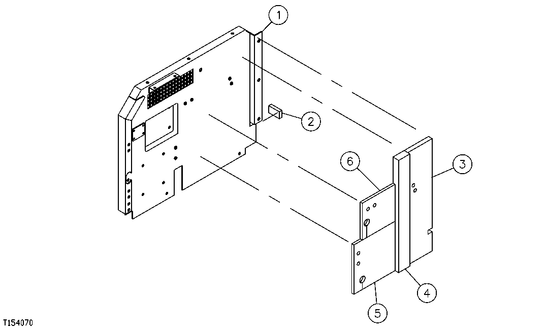
1

5008606

Panel

(SUB FOR FFSB111591)

1шт.

2

DH400342

Isolator

(SUB FOR FFSB111592)

1шт.

3

DH300345

Insulator

(SUB FOR FFSB111593)

1шт.

4

DH300344

Insulator

(SUB FOR FFSB111594)

1шт.

5

DH300343

Insulator

(SUB FOR FFSB111595)

1шт.

6

DH300346

Insulator

(SUB FOR FFSB111596)

1шт.

Выбрано товаров: 6