Запчасти John Deere 7C ZTS 469 - BOOM CYLINDER GUARD (SN 200216- ) 1913 MISCELLANEOUS SHIELDS

Схема запчастей John Deere 7C ZTS - 469 - BOOM CYLINDER GUARD (SN 200216- ) 1913 MISCELLANEOUS SHIELDS
FIT
1:1
100%

Артикул

Название

Примечание

Количество

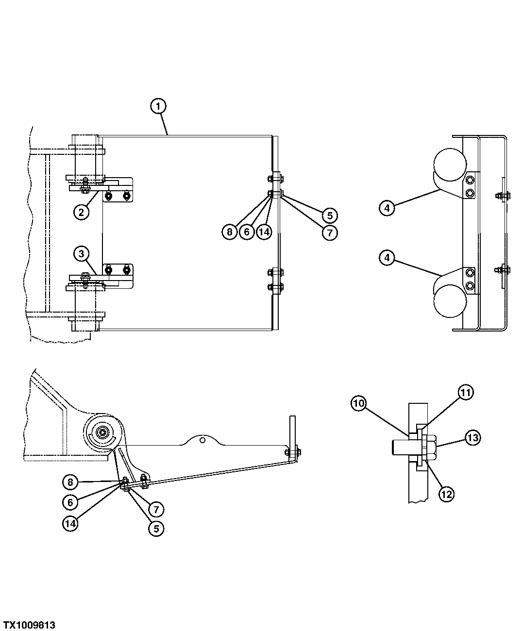
1

FFSB113314

Plate

1шт.

2

FFSB115623

Bracket

1шт.

3

FFSB115624

Bracket

1шт.

4

FFSB113317

Plate

2шт.

5

19M7344

Cap Screw

M16 X 65

8шт.

6

12M7069

Lock Washer

16 mm

8шт.

7

24M7439

Washer

17 X 40 X 6 mm

8шт.

8

14M7276

Nut

M16

8шт.

10

FFSB107397

Bushing

2шт.

11

FFSB107398

Plate

2шт.

12

12M7070

Lock Washer

20 mm

2шт.

13

19M7950

Cap Screw

M20 X 45 (SUB FOR J922045)

2шт.

14

24M7338

Washer

17 X 30 X 3 mm

8шт.

Выбрано товаров: 13