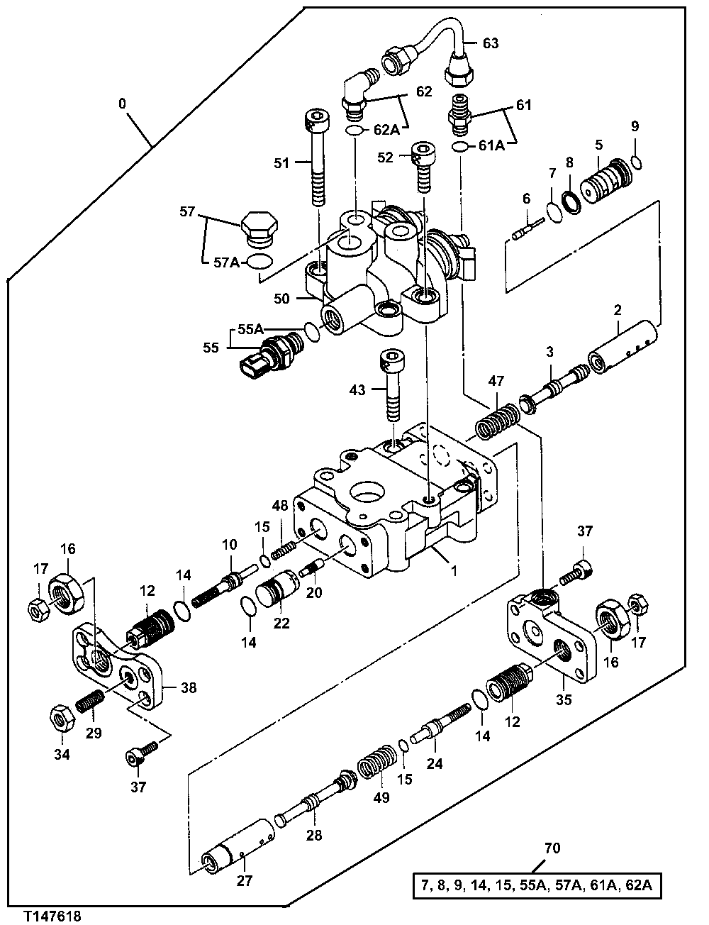
Запчасти John Deere 7C ZTS 482 - MAIN HYDRAULIC PUMP LEFT HAND REGULATOR 2160 VEHICLE HYDRAULICS

Схема запчастей John Deere 7C ZTS - 482 - MAIN HYDRAULIC PUMP LEFT HAND REGULATOR 2160 VEHICLE HYDRAULICS
FIT
1:1
100%

Артикул

Название

Примечание

Количество

0

9207258

Regulator

(SUB FOR TH9207258)

1шт.

1

Housing

( TH1026282 NLA)

1шт.

2

4179155

Sleeve

(SUB FOR TH109892)

1шт.

3

4179156

Spool

(SUB FOR TH109893)

1шт.

5

4435025

Piston

(SUB FOR TH4435025)

1шт.

6

4435024

Flow Control Hyd. Valve

(SUB FOR TH4435024)

1шт.

7

TH102560

O-Ring

(K) 15.800 X 2.400 mm (0.622" X 3/32")

1шт.

8

4085607

Back-Up Ring

(K) (SUB FOR TH102562)

1шт.

9

CH11560

Packing

(K)

1шт.

10

4368619

Stop

(SUB FOR AT214045)

1шт.

12

4179161

Stop

(SUB FOR TH109898)

2шт.

14

4342843

O-Ring

(K) (SUB FOR AT213892)

3шт.

15

4342841

O-Ring

(K) (SUB FOR AT213891)

2шт.

16

4068898

Nut

M20 (SUB FOR TH102567)

2шт.

17

14M7273

Nut

M8

2шт.

20

4179171

Piston

(SUB FOR TH109911)

1шт.

22

4451498

Piston

(SUB FOR TH4451498)

1шт.

24

4347107

Stop

(SUB FOR AT213917)

1шт.

27

4346522

Sleeve

(SUB FOR AT213913)

1шт.

28

4346521

Valve Spool

(SUB FOR AT213912)

1шт.

29

22M7098

Set Screw

M10 X 25 (SUB FOR AT201005 OR 4265964)

1шт.

34

14M7274

Nut

M10

1шт.

35

3075775

End Plate

(SUB FOR AT213794)

1шт.

37

19M8446

Screw

M8 X 20

8шт.

38

4433327

Cover

(SUB FOR AT192511)

1шт.

43

19M8339

Screw

M10 X 55

2шт.

47

4194176

Compression Spring

(SUB FOR TH111263)

1шт.

48

4423345

Spring

(SUB FOR TH4423345)

1шт.

49

4350928

Compression Spring

(SUB FOR AT213951)

1шт.

50

4400442

Solenoid Valve

(SUB FOR TH4400442)

1шт.

51

19M9763

Screw

M10 X 80 (SUB FOR M341080)

2шт.

52

19M8337

Screw

M10 X 30

2шт.

55

4436536

Sensor

(SUB FOR TH4436536)

1шт.

55A

CH11570

O-Ring

(K) 13.800 X 2.400 mm (0.543" X 3/32")

1шт.

57

4174541

Fitting

(SUB FOR TH110477)

1шт.

57A

4506418

O-Ring

(K) 17.800 X 2.400 mm (0.70 1" X 3/32") (SUB FOR U46489)

1шт.

61

4255304

Fitting

(SUB FOR AT155270)

1шт.

61A

M800650

Packing

(K)

1шт.

62

4293950

Fitting

(SUB FOR AT160584)

1шт.

62A

M800650

Packing

(K)

1шт.

63

4436800

Oil Line

(SUB FOR TH4436800)

1шт.

70

4455733

Seal Kit

(SUB FOR TH4455733)(CONT AINS ALL PARTS MARKED K)

1шт.

Выбрано товаров: 0