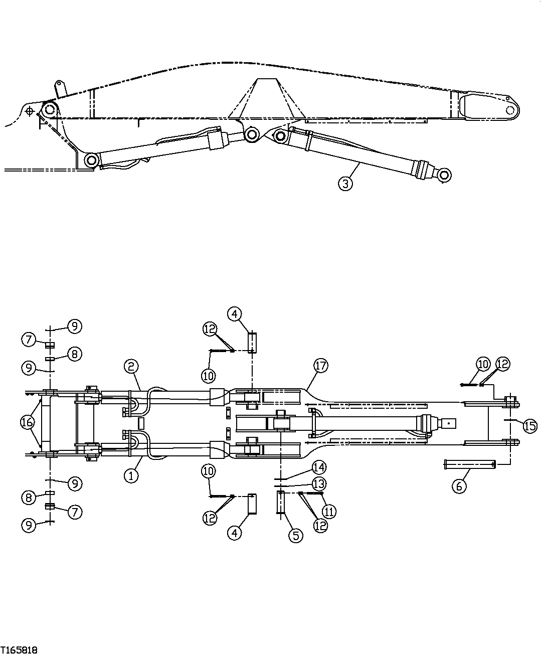
Запчасти John Deere 7C ZTS 543 - LOG LOADER BOOM (SWAMP LOGGER) 3344 Boom

Схема запчастей John Deere 7C ZTS - 543 - LOG LOADER BOOM (SWAMP LOGGER) 3344 Boom
FIT
1:1
100%

Артикул

Название

Примечание

Количество

1

Hydraulic Cylinder

Components On Another Page Left Boom Cylinder ( FFSB111648, 9206322EX NLA)

1шт.

AT330316

Hydraulic Cylinder

(REMAN) Components On Another Page Left Boom Cylinder (MUST REPLACE R IGHT AND LEFT CYLINDERS AS A PAIR)

1шт.

2

Hydraulic Cylinder

Components On Another Page Right Boom Cyli nder ( 9206321Y, 9245978J, FFSB111649 NLA)

1шт.

AT330316

Hydraulic Cylinder

Components On Another Page Right B oom Cylinder (REMAN) (MUST REPLACE RIGHT AND LEFT CYLINDERS AS A PAIR)

1шт.

3

Hydraulic Cylinder

(COMPONENTS ON SEPARATE PAGE ) ( 9197222, FFSB104900 NLA)

1шт.

4641545

Hydraulic Cylinder

Arm (SUB FOR FFSB115435 (SE E SEPARATE PAGE FOR DETAIL))

1шт.

4

FF105529

Pin

(SUB FOR FFSB107285)

2шт.

5

FFSB107532

Pin Fastener

1шт.

6

FFSB107288

Pin Fastener

1шт.

7

4443885

Bushing

(SUB FOR FFSB112016)

2шт.

8

4364501

Bushing

(SUB FOR FFSB112017)

2шт.

9

TH102411

Seal

(SUB FOR FFSB109384, 4074008)

4шт.

10

19M8100

Cap Screw

M20 X 180 (SUB FOR FFSB109230)

3шт.

11

19M8503

Cap Screw

M20 X 160 (SUB FOR FFSB109229)

1шт.

12

14M7277

Nut

M20 (SUB FOR FFSB109330)

8шт.

13

TH106308

Washer

(SUB FOR FFSB108128 OR 4142950)

1шт.

14

TH106307

Washer

(SUB FOR FFSB108127 OR 4101281)

1шт.

15

4144513

Washer

(SUB FOR FFSB108121 OR FFSB113080)

1шт.

16

JD7769

Lubrication Fitting

(SUB FOR FFSB104342)

2шт.

17

FFSB113213

Harvester Boom

1шт.

Выбрано товаров: 0