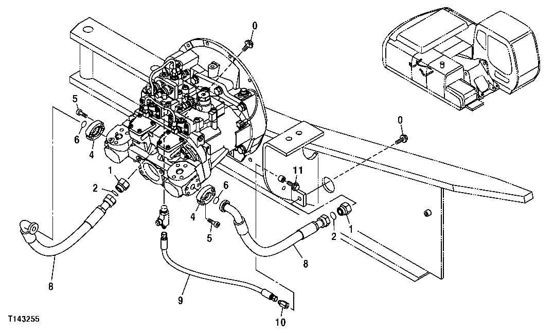
Запчасти John Deere 7C ZTS 563 - ATTENUATOR HOSES 3363 LINES, HOSES & FITTINGS

Схема запчастей John Deere 7C ZTS - 563 - ATTENUATOR HOSES 3363 LINES, HOSES & FITTINGS
FIT
1:1
100%

Артикул

Название

Примечание

Количество

0

19M7403

Cap Screw

M12 X 35

2шт.

12H301

Lock Washer

1/2"

2шт.

1

4204882

Fitting Plug

(SUB FOR TH109541)

2шт.

2

T77858

O-Ring

18.771 X 1.778 mm (0.739" X 0.070")

2шт.

4

T107446

Flange Fitting

4шт.

5

19M8337

Screw

M10 X 30

8шт.

6

T59014

O-Ring

24.994 X 3.531 mm (63/64" X 0.139")

2шт.

8

4436937

Hydraulic Hose

(SUB FOR TH4436937)

2шт.

9

4437834

Hose

(SUB FOR 4442133 AND 4653610)

1шт.

10

4444381

Pipe Plug

(SUB FOR TH4444381)

1шт.

11

19M7662

Cap Screw

M10 X 30

1шт.

12M7066

Lock Washer

10 mm

1шт.

Выбрано товаров: 0