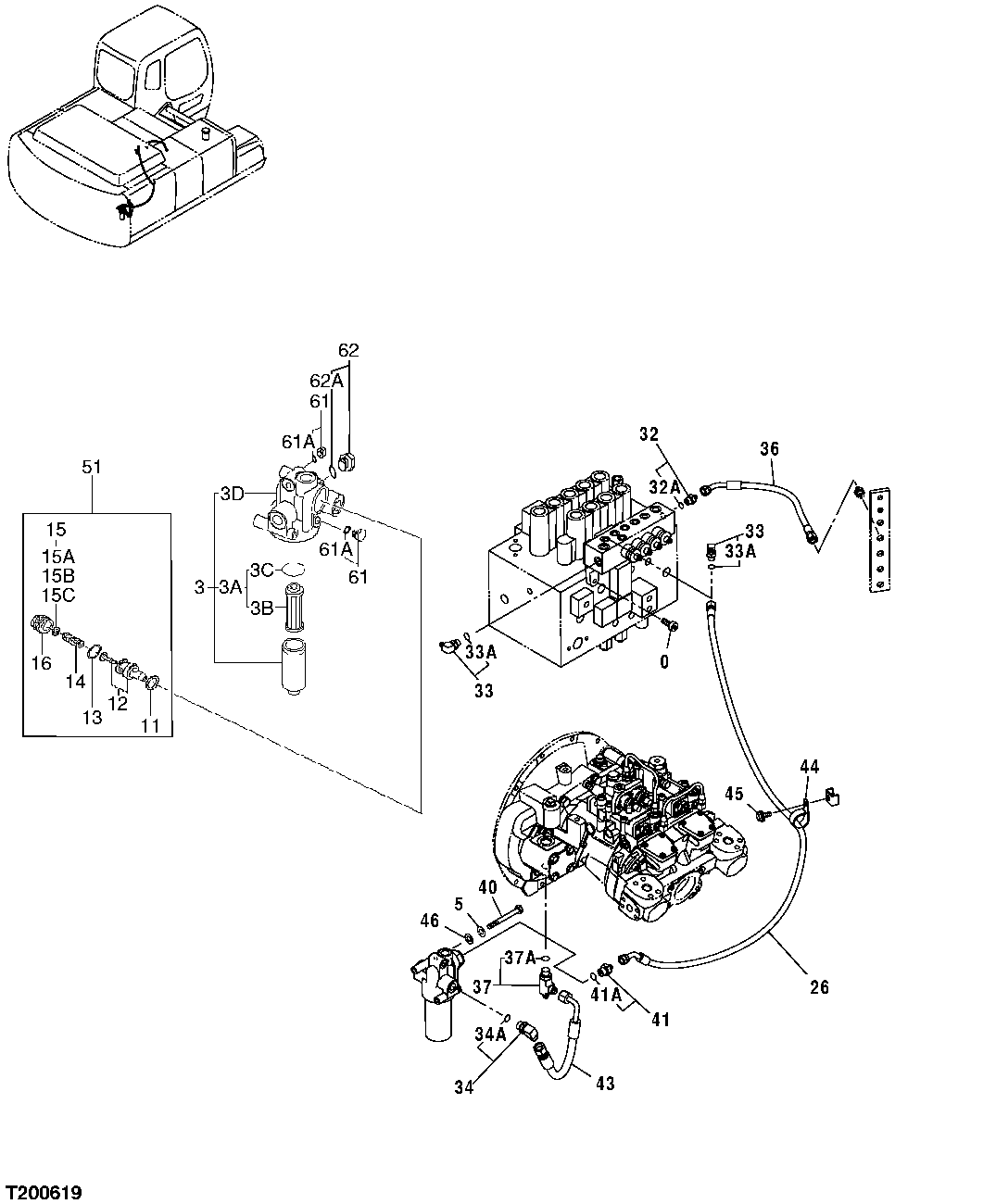
Запчасти John Deere 7C ZTS 575 - PILOT SYSTEM HYDRAULIC FILTER AND HOSES 3363 LINES, HOSES & FITTINGS

Схема запчастей John Deere 7C ZTS - 575 - PILOT SYSTEM HYDRAULIC FILTER AND HOSES 3363 LINES, HOSES & FITTINGS
FIT
1:1
100%

Артикул

Название

Примечание

Количество

0

19M7576

Screw

M10 X 30 (SUB FOR J781030)

2шт.

3

4611025

Oil Filter

(SUB FOR 4408959)

1шт.

3A

AT186554

Filter Element

(SUB FOR 4370435 OR AT214263)

1шт.

3B

Filter Element

( 4191301 NLA)

1шт.

3C

TH105683

O-Ring

(SUB FOR A811060, 415353 8, TH0430809 OR 0430809)

1шт.

3D

4472430

Pressure Relief Valve

1шт.

5

12M7066

Lock Washer

10 mm

2шт.

11

4487648

Gasket

(SUB FOR 0308704)

1шт.

12

0308703

Pressure Relief Valve

1шт.

13

4487138

O-Ring

(SUB FOR 0308705)

1шт.

14

Spring

1шт.

15

9228867

Shim

(SUB FOR 4293211)

1шт.

15A

4606473

Shim

(SUB FOR 4309836)

2шт.

15B

4487297

Shim

(SUB FOR 4309837)

2шт.

15C

Shim

( 4309838 NLA)

2шт.

15D

4601120

Shim

2шт.

16

0308709

Fitting Plug

1шт.

26

4427358

Hydraulic Hose

(SUB FOR TH4427358)

1шт.

32

4200466

Adapter Fitting

(SUB FOR THA852133 ) (SUB FOR TH108320)

1шт.

32A

CH11570

O-Ring

13.800 X 2.400 mm (0.543" X 3/32")

1шт.

33

A852333

Elbow Fitting

(SUB FOR THA852333 ) (SUB FOR TH101047 ) (SUB FOR 4154671)

2шт.

33A

CH11570

O-Ring

13.800 X 2.400 mm (0.543" X 3/32")

1шт.

34

A852344

Elbow Fitting

1шт.

34A

4506418

O-Ring

17.800 X 2.400 mm (0.701" X 3/32") (SUB FOR U46489)

1шт.

36

4437934

Hydraulic Hose

1шт.

37

4445981

Tee Fitting

(SUB FOR P68010)

1шт.

37A

4506418

O-Ring

17.800 X 2.400 mm (0.701" X 3/32") (SUB FOR U46489)

1шт.

40

19M8166

Cap Screw

M10 X 110

2шт.

41

A852143

Adapter Fitting

(SUB FOR THA852143)

1шт.

41A

4506418

O-Ring

17.800 X 2.400 mm (0.701" X 3/32") (SUB FOR U46489)

1шт.

43

4450081

Hydraulic Hose

1шт.

44

XCL-29

Hose Clamp

(SUB FOR TH110522 OR 4193848)

1шт.

45

19M7938

Cap Screw

M10 X 20

1шт.

12M7066

Lock Washer

10 mm

1шт.

46

24M7028

Washer

10.500 X 20 X 2 mm

2шт.

51

0709701

Pressure Relief Valve

1шт.

61

4174541

Fitting

2шт.

61A

M800650

Packing

1шт.

62

A885002

Plug

1шт.

62A

4506418

O-Ring

17.800 X 2.400 mm (0.701" X 3/32")

1шт.

Выбрано товаров: 40