Запчасти John Deere 7C ZTS 613 - BOOM PLUMBING FOR VALVE IN HEAD FRONT 3363 LINES, HOSES & FITTINGS

Схема запчастей John Deere 7C ZTS - 613 - BOOM PLUMBING FOR VALVE IN HEAD FRONT 3363 LINES, HOSES & FITTINGS
FIT
1:1
100%

Артикул

Название

Примечание

Количество

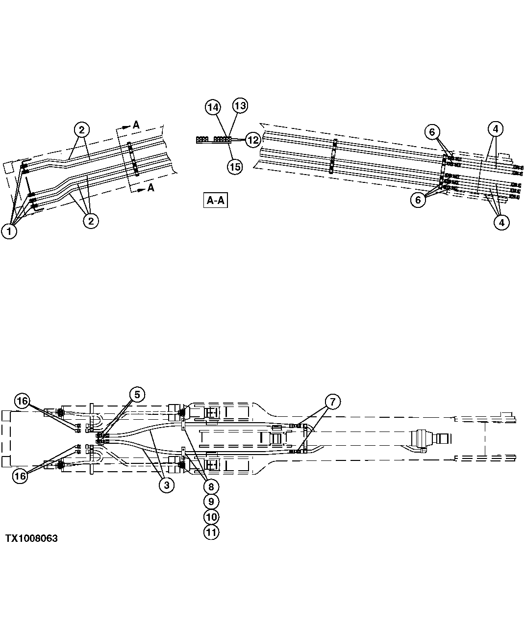
1

FFSB105981

Structural Tube

3шт.

2

FFSB106001

Structural Tube

2шт.

3

FFSB107901

Hydraulic Hose

(CUT TO 2580MM LENGTH)

2шт.

4

FFSB100120

Hydraulic Hose

(CUT TO 1346MM LENGTH)

5шт.

5

38H1287

Adapter Fitting

7шт.

T76938

O-Ring

7шт.

T78715

Nut

7шт.

6

38H1281

Union Fitting

5шт.

T76938

O-Ring

5шт.

7

X16F5OLO-S

Adapter Fitting

(SUB FOR FFSB102146)

2шт.

8

FFSB100118

Half Clamp

4шт.

9

FFSB100116

Reinforcement

2шт.

10

FFSB110867

Insert

2шт.

11

19M7216

Cap Screw

M12 X 100

4шт.

12

FFSB100112

Half Clamp

40шт.

13

FFSB100114

Reinforcement

20шт.

14

19M8499

Cap Screw

M10 X 60

40шт.

15

F120999

Nut

( FFSB109897 NLA)

40шт.

16

X16F5OLO-S

Adapter Fitting

(SUB FOR FFSB102146)

4шт.

Выбрано товаров: 19