Запчасти John Deere 7ZTS 150 - PROPEL PILOT VALVE COMPONENTS 3315 Controls Linkage

Схема запчастей John Deere 7ZTS - 150 - PROPEL PILOT VALVE COMPONENTS 3315 Controls Linkage
FIT
1:1
100%

Артикул

Название

Примечание

Количество

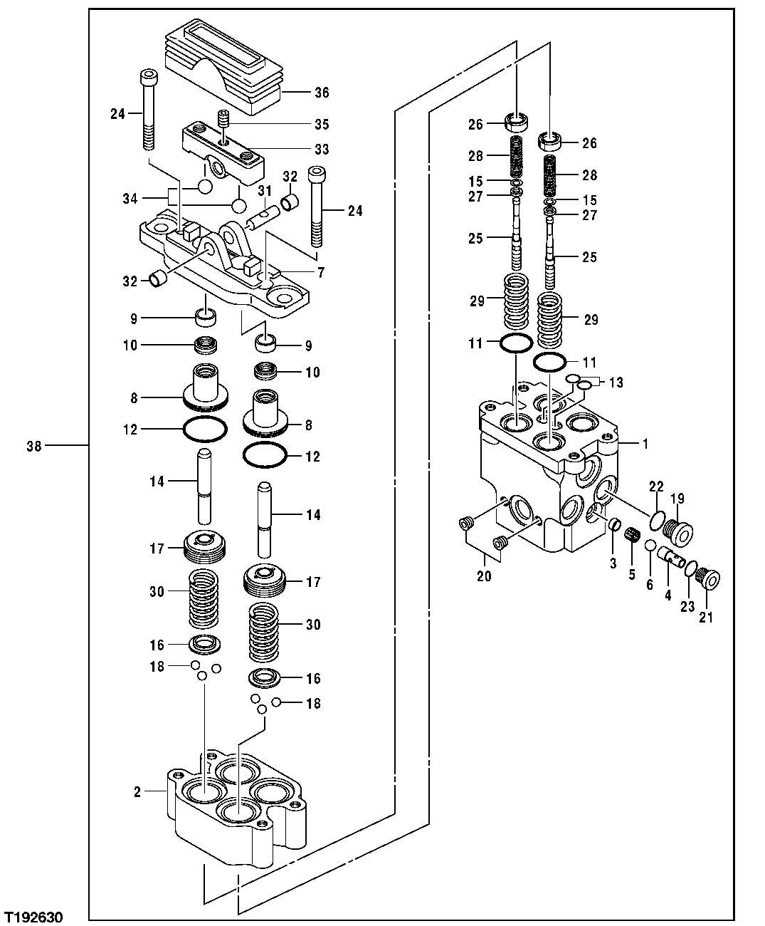
1

Case

1шт.

2

Case

1шт.

3

Seat

2шт.

4

Seat

2шт.

5

Bushing

2шт.

6

Ball

2шт.

7

Cover

2шт.

8

0846601

Plug

4шт.

9

0846602

Cap

4шт.

10

Packing

4шт.

11

O-Ring

4шт.

12

O-Ring

4шт.

13

O-Ring

2шт.

14

Push Rod

4шт.

15

0846603

Shim

4шт.

16

0846604

Valve Seat

4шт.

17

Piston

4шт.

18

0846605

Ball

12шт.

19

0846606

Plug

3шт.

20

Plug

6шт.

21

0846607

Plug

4шт.

22

0846608

Packing

3шт.

23

0846609

O-Ring

2шт.

24

0846610

Bolt

4шт.

25

Spool

4шт.

26

0846611

Valve Seat

4шт.

27

24M7117

Washer

4.300 X 9 X 0.800 mm (SUB FOR 0846612)

4шт.

28

0757403

Plate

4шт.

29

0757404

Plate

4шт.

30

0846615

Spring

4шт.

31

Camshaft

2шт.

32

Bushing

4шт.

33

Cam

2шт.

34

Ball

4шт.

35

0846616

Screw

2шт.

36

0757402

Boot

(SUB FOR 0757401)

2шт.

37

0846617

Seal Kit

(NOT ILLUSTRATED)

1шт.

38

4435449

Hydr./Pilot Control Valve

1шт.

Выбрано товаров: 38