Запчасти John Deere 7ZTS 172 - CONTROL VALVE (5) 3360 HYDRAULIC SYSTEM

Схема запчастей John Deere 7ZTS - 172 - CONTROL VALVE (5) 3360 HYDRAULIC SYSTEM
FIT
1:1
100%

Артикул

Название

Примечание

Количество

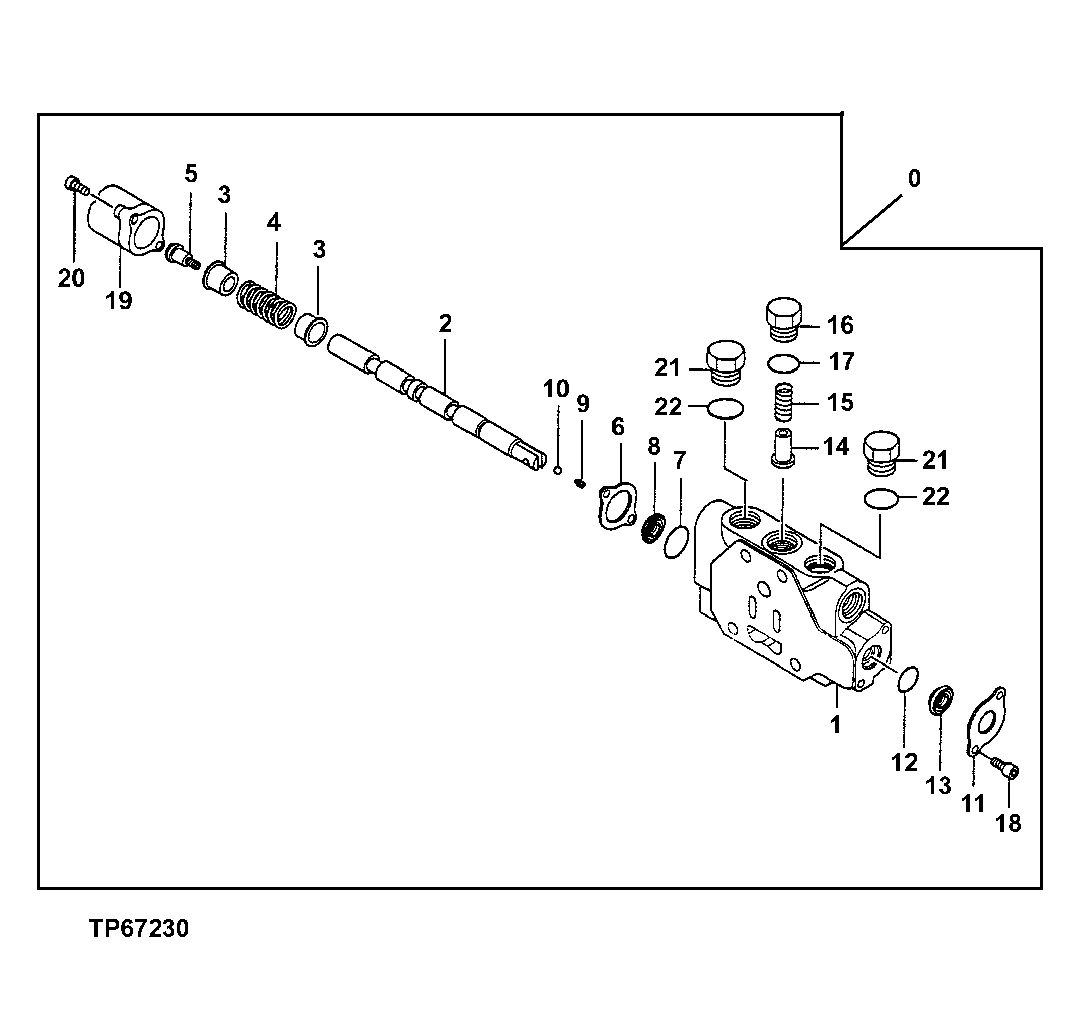
0

Control Valve

4438448 AND TH4438448 NLA

1шт.

1

Housing

1шт.

2

Spool

1шт.

3

Plate

2шт.

4

Spring

1шт.

5

Bolt

1шт.

6

Plate

1шт.

7

Ring

1шт.

8

Seal

1шт.

9

Screw

1шт.

10

Ball

1шт.

11

0750701

Plate

SUB FOR TH0750701

1шт.

12

Z985100

O-Ring

SUB FOR THZ985100

1шт.

13

0750702

Seal

SUB FOR TH0750702

1шт.

14

0750703

Plunger

SUB FOR TH0750703

1шт.

15

0750704

Spring

SUB FOR TH0750704

1шт.

16

0750705

Plug

SUB FOR TH0750705

1шт.

17

O-Ring

1шт.

18

0750706

Bolt

SUB FOR TH0750706

2шт.

19

0750707

Cap

SUB FOR TH0750707

1шт.

20

0750708

Bolt

SUB FOR TH0750708

2шт.

21

0751101

Plug

SUB FOR TH0751101

2шт.

22

CH11570

O-Ring

13.800 X 2.400 mm (0.543" X 3/32")

2шт.

Выбрано товаров: 23