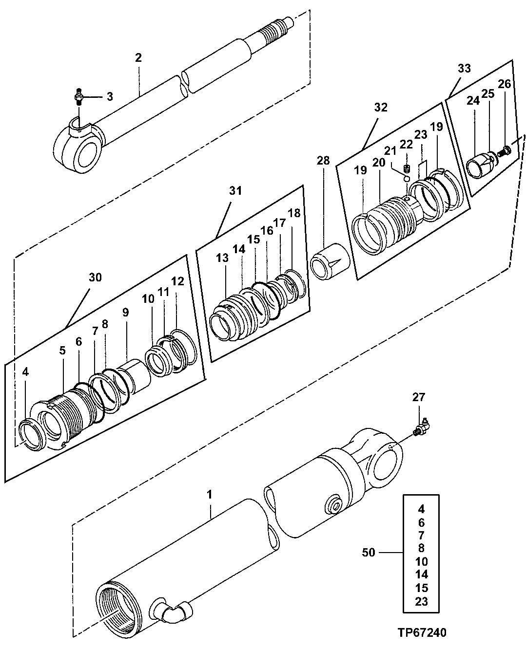
Запчасти John Deere 7ZTS 183 - Arm Cylinder 3360 HYDRAULIC SYSTEM

Схема запчастей John Deere 7ZTS - 183 - Arm Cylinder 3360 HYDRAULIC SYSTEM
FIT
1:1
100%

Артикул

Название

Примечание

Количество

1

0847001

Hydraulic Cylinder Barrel

(SUB FOR TH0744001 OR 0744001)

1шт.

2

0847002

Rod

( 0744002 NO LONGER AVAILABLE)

1шт.

0813705

Bearing

1шт.

0744013

Bearing

1шт.

3

0429920

Lubrication Fitting

(SUB FOR TH0429920)

1шт.

4

0682001

Ring

(A) (SUB FOR TH0658606 OR 0658606)

1шт.

5

0495001

Hydr. Cylinder Rod Guide

(SUB FOR TH0495001)

1шт.

6

A811070

O-Ring

(A) (SUB FOR 0479007, TH0479007 OR TH103140)

1шт.

7

0430902

Back-Up Ring

(A) (SUB FOR TH0430902)

1шт.

8

AT264334

O-Ring

(A) (SUB FOR TH100101)

1шт.

9

1162404

Bushing

(SUB FOR TH0481103, 0481103)

1шт.

10

0481104

Packing

(A) (SUB FOR TH0481104)

1шт.

11

0495002

Ring

(SUB FOR TH0495002)

1шт.

12

0637001

Stop

(SUB FOR TH0637001)

1шт.

13

0495004

Retainer

(SUB FOR TH0495004)

1шт.

14

0430902

Back-Up Ring

(A) (SUB FOR TH0430902)

1шт.

15

TH105683

O-Ring

(A) (SUB FOR TH0430809)

1шт.

16

0494903

Ring

(SUB FOR TH0494903)

1шт.

17

0494904

Spacer

(SUB FOR TH0494904)

1шт.

18

0494905

Stop

(SUB FOR TH0494905)

1шт.

19

0495006

Wear Ring

(SUB FOR TH0495006)

2шт.

20

0495005

Piston

(SUB FOR TH0495005)

1шт.

21

0431910

Ball

(SUB FOR AT203717)

1шт.

22

0479012

Set Screw

(SUB FOR TH0479012)

1шт.

23

0431907

Ring

(A) (SUB FOR TH0431907)

1шт.

24

0744008

Bearing

(SUB FOR TH0744008)

1шт.

25

0658610

Washer

(SUB FOR TH0658610)

1шт.

26

0744009

Bolt

(SUB FOR TH0744009)

1шт.

27

AH226482

Lubrication Fitting

(SUB FOR 0225709 OR CH18478)

1шт.

28

0744006

Bearing

(SUB FOR TH0744006)

1шт.

30

Cylinder Head

(SUB FOR TH0744003)( 0744003 NLA) ( 0847003 NLA) (FURNISH COMPONENTS)

1шт.

31

0744004

Retainer

(SUB FOR TH0744004)

1шт.

32

Piston

( 0744005 NO LONGER AVAILABLE)

1шт.

33

0847002

Rod

(ORDER 0813705 AND 0744013)(0744007, 07 44008, AND 0744011 NO LONGER AVAILABLE)

1шт.

50

0744010

Hydraulic Cylinder Kit

(SUB FOR TH0744010)(INC LUDES PARTS MARKED (A))

1шт.

Выбрано товаров: 35