Запчасти John Deere 7ZTS 25 - Cylinder Block 0404 Cylinder Block

Схема запчастей John Deere 7ZTS - 25 - Cylinder Block 0404 Cylinder Block
FIT
1:1
100%

Артикул

Название

Примечание

Количество

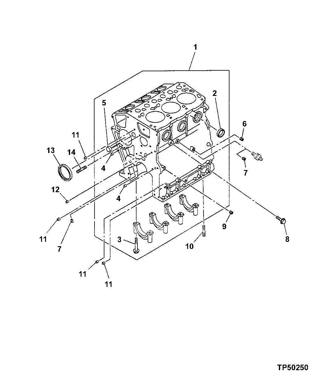
1

8971691611

Cylinder Block

(ADDITIONAL COMPONENTS SHOWN ON F OLLOWING PAGE) (SUB FOR AT260079)

1шт.

2

8942298530

Plug

(SUB FOR AT254851)

2шт.

3

8941674701

Bolt

(SUB FOR AT259967)

8шт.

4

5096000130

Seal

(SUB FOR AT254823)

2шт.

5

8972096090

Seal

(SUB FOR AT256018)

1шт.

6

1096050190

Pipe Plug

(SUB FOR AT254811)

1шт.

7

AT254810

Fitting Plug

1шт.

8

9096640010

Fitting Plug

(SUB FOR AT255028)

1шт.

9

5096050192

Pipe Plug

(SUB FOR AT254812)

1шт.

10

0410106160

Stud

(SUB FOR AT255005 OR 8972621471)

2шт.

11

9112290581

Dowel Pin

(SUB FOR AT255033)

2шт.

12

5096000130

Seal

(SUB FOR AT254823)

1шт.

13

8970470560

Needle Bearing

(SUB FOR AT254902)

1шт.

14

8972621451

Stud

(SUB FOR AT255007)

1шт.

Выбрано товаров: 14