Запчасти John Deere 7ZTS 57 - LABELS AND DECALS FOR CAB UNITS 1320 VEHICLE FINISH AND TRIM

Схема запчастей John Deere 7ZTS - 57 - LABELS AND DECALS FOR CAB UNITS 1320 VEHICLE FINISH AND TRIM
FIT
1:1
100%

Артикул

Название

Примечание

Количество

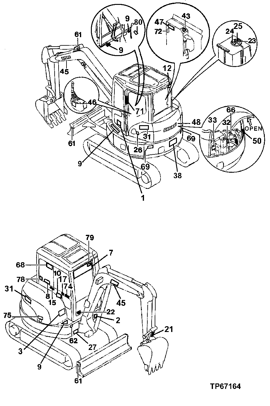
1

2045209

Mounting Parts

(SUB FOR T185756)(PERIODIC MAINTENANCE)

1шт.

2

T183768

Label

(WARNING)

1шт.

3

JD5696

Label

(LEAPING DEERE)

1шт.

JD5750

Label

1шт.

4

T167256

Label

(SECONDARY EXIT)

1шт.

7

T184286

Label

(JOHN DEERE)

1шт.

8

T146667

Safety Sign

(DANGER - ELECTROCUTION)

1шт.

9

H21259

Mat

(ANTI-SKID)

4шт.

10

T159887

Safety Sign

(CAUTION) (INSIDE CAB)

1шт.

12

3090193

Mounting Parts

(SUB FOR T185751)(TOPS CERTIFICATION)

1шт.

15

4334011

Label

(SUB FOR AT258333)(THROTTLE) (INSIDE CAB)

1шт.

17

T163997

Label

(OPERATION - BLADE)

1шт.

21

T208596

Safety Sign

(SUB FOR T185672)(WARNING)

1шт.

22

4369061

Label

(SUB FOR AT258340)(BOOM SWING)

1шт.

23

T101942

Label

(HYDRAULIC OIL)

1шт.

24

4430516

Label

(SUB FOR AT258421)(HYDRAULIC OIL CAP)

1шт.

25

AT258431

Label

(HYDRAULIC CAP)

1шт.

26

4431898

Label

(SUB FOR AT258423)(DIESEL ONLY)

1шт.

27

4439185

Label

(SUB FOR TH4439185)(LUBR ICATION - SWING BEARING)

1шт.

31

T184155

Label

(MODEL)

2шт.

32

T152657

Safety Sign

(IMPORTANT)

1шт.

33

4433590

Label

(SUB FOR AT258429)(CAUTION)

1шт.

38

2044813

Label

(SUB FOR AT258317)(STAY CLEAR)

1шт.

43

4430434

Label

(SUB FOR AT258419)(KEY SWITCH)

1шт.

45

T183799

Label

(DEERE)

2шт.

46

4299059

Label

(SUB FOR T138886)(HYDRAULIC LOCK)

1шт.

47

4441616

Label

(SUB FOR T185752)(ALARM CANCEL)

1шт.

48

T187389

Label

(DEERE)

1шт.

50

Label

(CAUTION - RADIATOR) ( AT2584 26 NOT AVAILABLE FOR SERVICE)

1шт.

61

4357593

Label

(SUB FOR AT258338)(LIFT)

3шт.

62

4422323

Label

(SUB FOR AT256111)(VALVE POSITION)

1шт.

66

Label

(AIR CLEANER) ( R56092 N OT AVAILABLE FOR SERVICE)

1шт.

68

3090053

Label

(SUB FOR T185755)(LIFT CHART)

1шт.

69

JD5909

Reflector

2шт.

71

T146097

Label

(SUB FOR AT258322 OR 3088058)(SEAT BELT)

1шт.

72

4430435

Label

(SUB FOR AT258420)(FUSE)

1шт.

74

T201519

Label

(SUB FOR TH3089167, TH4459646 , 4459646)(OPERATION PATTERN)

1шт.

75

4433591

Label

(SUB FOR AT258430)(ENGINE STOP)

1шт.

78

T190393

Label

(SUB FOR T157809)(EMERGENCY HAMMER)

1шт.

79

T146664

Safety Sign

(FRONT WINDOW LOCK)

1шт.

80

T146102

Label

(BYPASS START)

1шт.

Выбрано товаров: 41