Запчасти John Deere 90D 65 - ENGINE SPEED CONTROL LINKAGE 0515 SPEED CONTROLS AND MANUAL FUEL SHUT-OFF LINKAGE

Схема запчастей John Deere 90D - 65 - ENGINE SPEED CONTROL LINKAGE 0515 SPEED CONTROLS AND MANUAL FUEL SHUT-OFF LINKAGE
FIT
1:1
100%

Артикул

Название

Примечание

Количество

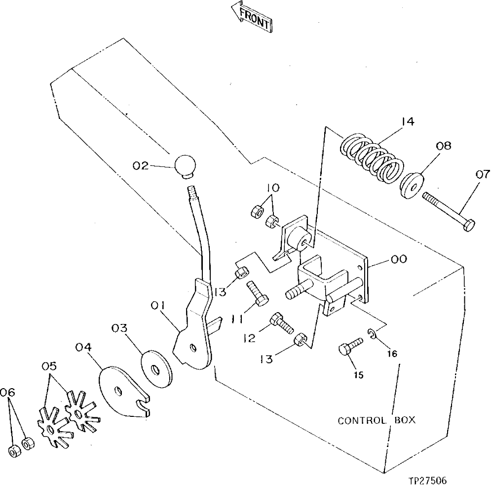
0

7018284

Bracket

(SUB FOR TH109563)

1шт.

1

8038535

Lever

(SUB FOR TH109562)

1шт.

2

4143169

Knob

(SUB FOR TH100268)

1шт.

3

Z38131

Washer

1шт.

4

4203232

Plate

(SUB FOR TH109565)

1шт.

5

4502974

Washer

(SUB FOR TH100564)

2шт.

6

14M7276

Nut

M16

2шт.

7

4203235

Bolt

(SUB FOR T114440)

1шт.

8

9727811

Retainer

(SUB FOR AT114992)

1шт.

10

14M7274

Nut

M10

2шт.

11

19M8600

Cap Screw

M10 X 50

1шт.

12

19M7382

Cap Screw

M10 X 40 (SUB FOR 19M7183)

1шт.

13

14M7274

Nut

M10

2шт.

14

4216180

Spring

(SUB FOR AT130440)

1шт.

15

19M7932

Cap Screw

M8 X 16

3шт.

16

12M7056

Lock Washer

8 mm (SUB FOR 12M7065)

3шт.

Выбрано товаров: 16