Запчасти John Deere 90D 66 - AIR CLEANER 0520 INTAKE SYSTEM

Схема запчастей John Deere 90D - 66 - AIR CLEANER 0520 INTAKE SYSTEM
FIT
1:1
100%

Артикул

Название

Примечание

Количество

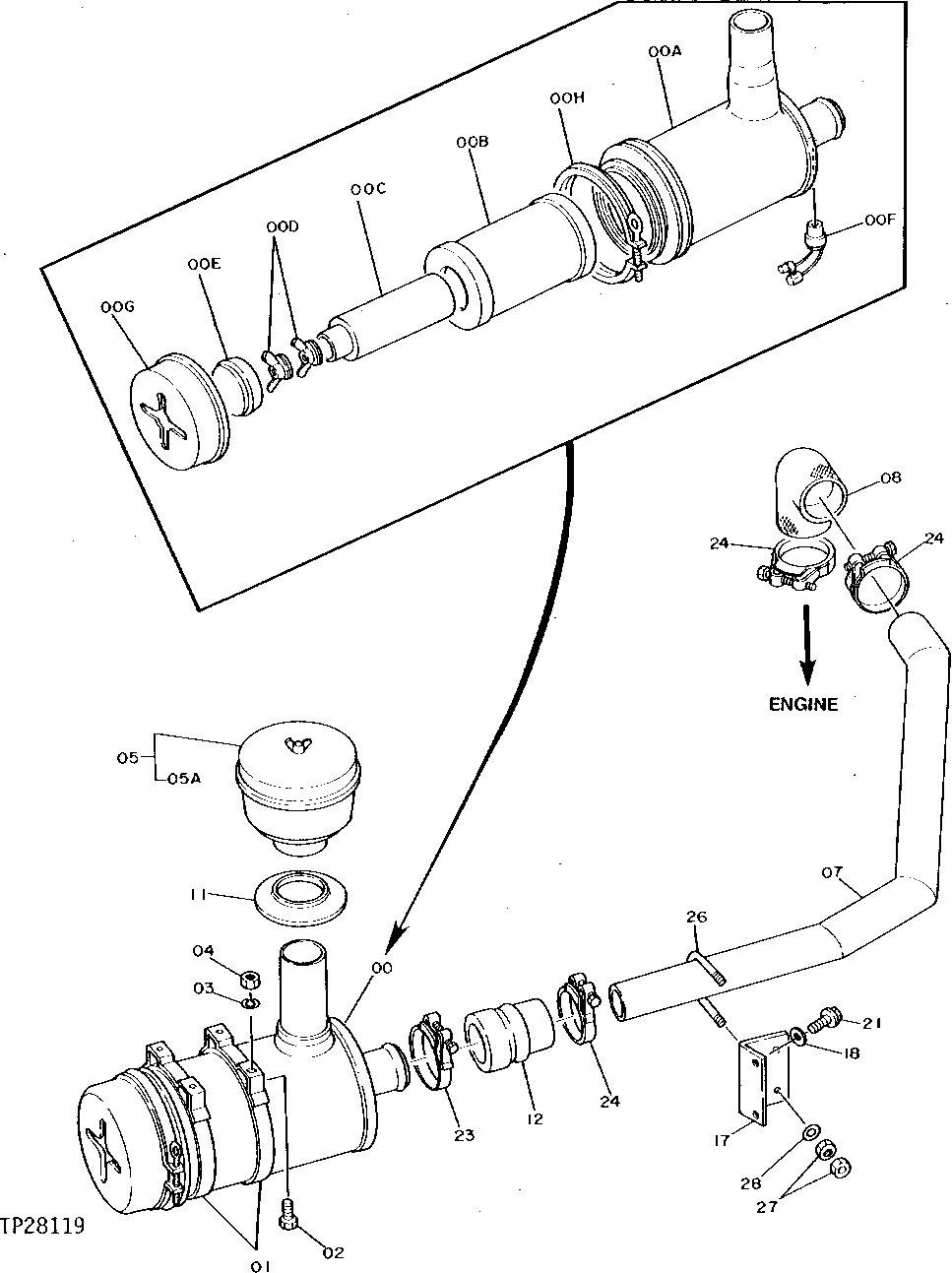
0

Air Cleaner

( AT130712 NO LONGER AVAILABLE)

1шт.

0A

4189197

Housing

(SUB FOR TH106444)

1шт.

0B

CH18287

Filter Element

(PRIMARY) (SUB FOR TH106445)

1шт.

0C

CH18289

Filter Element

(SECONDARY) (SUB FOR TH106446)

1шт.

0D

AH20849

Wing Nut

(SUB FOR TH106447)

2шт.

0E

AH20858

Isolator

(SUB FOR TH106448)

1шт.

0F

4224238

Indicator

(SUB FOR AT131922)

1шт.

0G

AH20852

Housing

(SUB FOR TH106449)

1шт.

0H

AH20855

Clamp

(SUB FOR AR27854)

1шт.

1

AN31656

Clamp

(SUB FOR TH106452)

2шт.

2

19M7932

Cap Screw

M8 X 16

4шт.

3

12M7056

Lock Washer

8 mm (SUB FOR 12M7065)

4шт.

4

14M7273

Nut

M8

4шт.

5

984206

Precleaner

(SUB FOR TH108241)

1шт.

5A

R28794

Dust Bowl

(SUB FOR TH108242)

1шт.

7

8046823

Line

(SUB FOR AT130755)

1шт.

8

Hose

(SUB FOR TH108244)( 4203694 NOT A VAILABLE FOR SERVICE) (FURNISH T19 6726 BULK MATERIAL CUT TO LENGTH)

1шт.

11

4338147

Cover

(SUB FOR TH107988 ) (SUB FOR AT165857)

1шт.

12

H152403

Hose

(SUB FOR AT130672 OR 4215718)

1шт.

17

Bracket

(SUB AT130773 ALONG WITH AT1 30774, AT130775 AND AT130776)

1шт.

4257045

Bracket

(SUB FOR AT130776)

1шт.

18

12M7058

Lock Washer

12 mm (SUB FOR 12M7067)

2шт.

21

19M8011

Cap Screw

M12 X 30

2шт.

23

AT43291

Hose Clamp

(SUB FOR TH106163)

1шт.

24

AT39141

Hose Clamp

(SUB FOR TH106162)

3шт.

26

4255205

U-Bolt

(SUB FOR AT130721)

1шт.

27

14M7274

Nut

M10

4шт.

28

24M7028

Washer

10.500 X 20 X 2 mm

2шт.

Выбрано товаров: 28