Запчасти John Deere 90D 95 - CAB PLATFORM 1810 OPERATOR ENCLOSURE

Схема запчастей John Deere 90D - 95 - CAB PLATFORM 1810 OPERATOR ENCLOSURE
FIT
1:1
100%

Артикул

Название

Примечание

Количество

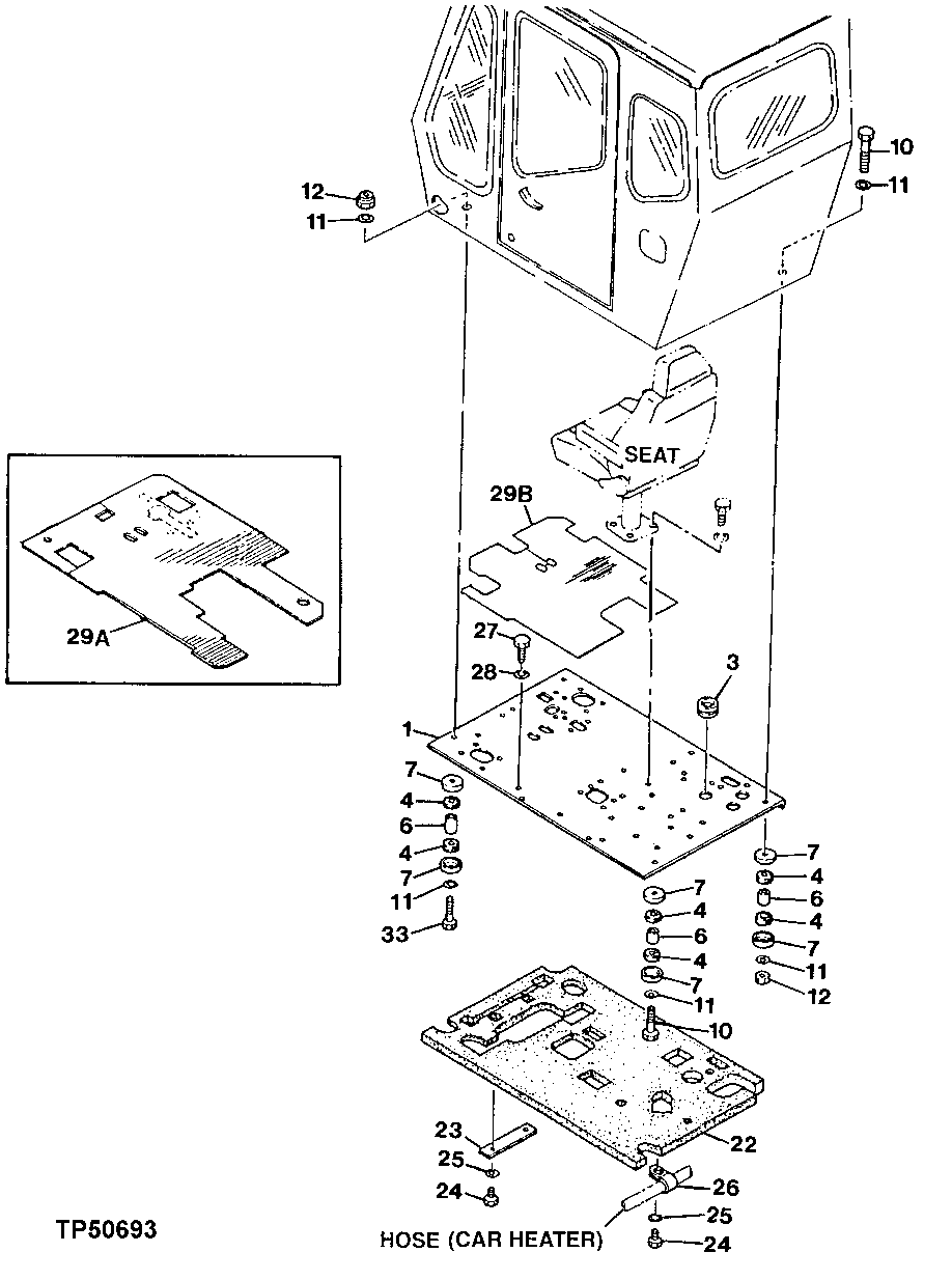
1

6009102

Platform

(SUB FOR TH110801)

1шт.

3

4509404

Grommet

(SUB FOR TH100553)

3шт.

4

4149808

Bushing

(SUB FOR TH106498)

8шт.

6

4200140

Spacer

(SUB FOR TH110570)

4шт.

7

4053316

Retainer

(SUB FOR TH106500)

8шт.

10

4140961

Bolt

(SUB FOR TH106501)

2шт.

11

4114405

Washer

(SUB FOR TH101105)

8шт.

12

14M7328

Lock Nut

M16

4шт.

22

2025726

Isolator

(SUB FOR TH110392)

1шт.

23

4204646

Plate

(SUB FOR TH108612)

1шт.

24

19M7402

Cap Screw

M10 X 25

3шт.

25

12M7066

Lock Washer

10 mm

3шт.

26

T38377

Clamp

1шт.

27

19M7402

Cap Screw

M10 X 25

5шт.

28

12M7066

Lock Washer

10 mm

5шт.

29A

2034096

Mat

(SUB FOR TH110393)

1шт.

29B

2040823

Mat

(SUB FOR AT181700)

1шт.

33

4215647

Bolt

(SUB FOR TH110648)

2шт.

Выбрано товаров: 18