Запчасти John Deere 90D 109 - CAB HEATER HOSES (001573 - ) 1830 HEATING AND AIR CONDITIONING

Схема запчастей John Deere 90D - 109 - CAB HEATER HOSES (001573 - ) 1830 HEATING AND AIR CONDITIONING
FIT
1:1
100%

Артикул

Название

Примечание

Количество

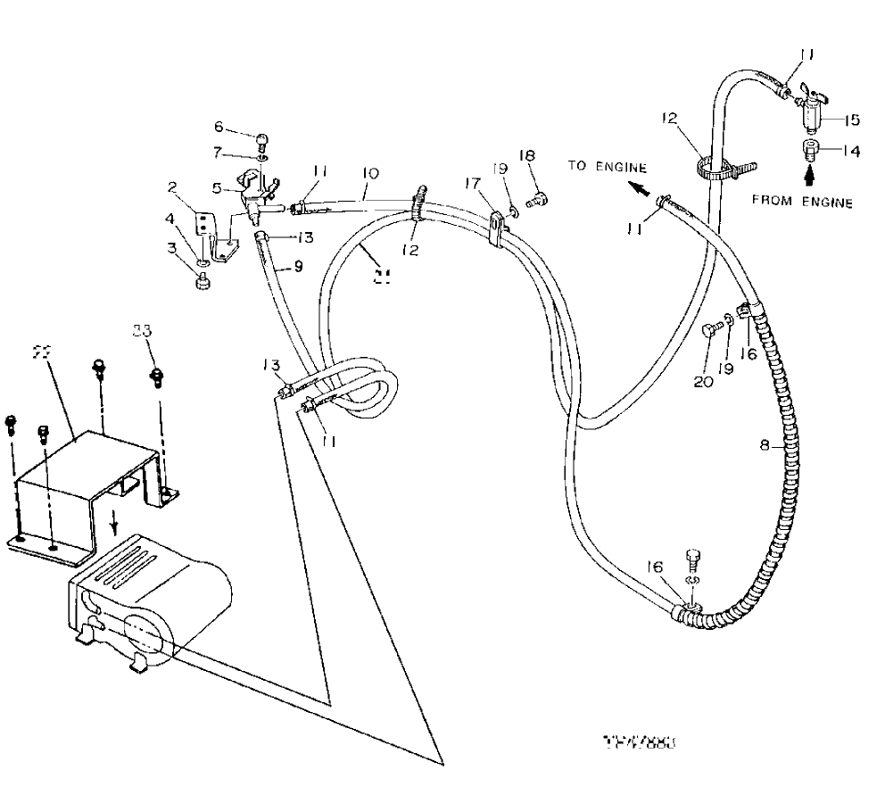
2

4213673

Bracket

(SUB FOR TH110629)

1шт.

3

19M8324

Cap Screw

M10 X 16

2шт.

4

12M7066

Lock Washer

10 mm

2шт.

5

4195823

Drain Valve

(SUB FOR TH108790)

1шт.

6

21M7252

Screw

M4 X 16 (SUB FOR T44946)

2шт.

7

12H315

Lock Washer

0.164" (SUB FOR 12M7063)

2шт.

8

Hose Guard

(MAKE FROM XHG-075 BULK MATERIAL, CUT TO LEN GTH) (SUB FOR TH100996, AT138222 OR 3052919)

2шт.

9

Hose

( TH110630 OR T115300 NO LONGER AVAILABLE) (CUT TO LENGTH FROM TY22326 BULK MATERIAL)

1шт.

10

Hose

(CUT TO 118.11") (MAKE FROM TY22326 ) (SUB FOR AT130677)

1шт.

11

WZ2141223

Hose Clamp

(SUB FOR T81285, OR AR21837THIS APPLICATION ) (SUB FOR AA34965)

4шт.

12

H77698

Tie Band

7шт.

13

WZ2141223

Hose Clamp

(SUB FOR AR21837, THIS APPL ICATION ) (SUB FOR AA34965)

2шт.

14

15H586

Adapter Fitting

3/8" (SUB FOR TH101079)

1шт.

15

AT35831

Drain Valve

(ALSO ORDER T103301, 15H597 AND 29H587 ) (SUB FOR AT105319, THIS APPLICATION)

1шт.

T103301

Hose Fitting

1шт.

15H597

Coupling

3/8"

1шт.

29H587

Threaded Nipple

3/8"

1шт.

16

T24432

Clamp

(SUB FOR TH108595)

2шт.

17

4190266

Clip

(SUB FOR TH108793)

1шт.

18

19M8324

Cap Screw

M10 X 16

1шт.

19

12M7066

Lock Washer

10 mm (SUB FOR T44946)

2шт.

20

19M8451

Cap Screw

M10 X 14

1шт.

21

Hose

(SUB FOR AT130677)(CUT TO LENG TH FROM TY22326 BULK MATERIAL)

1шт.

22

8064004

Cover

(SUB FOR AT173475)

1шт.

23

19M7402

Cap Screw

M10 X 25

4шт.

12M7066

Lock Washer

10 mm

4шт.

24M7028

Washer

10.500 X 20 X 2 mm

4шт.

Выбрано товаров: 0