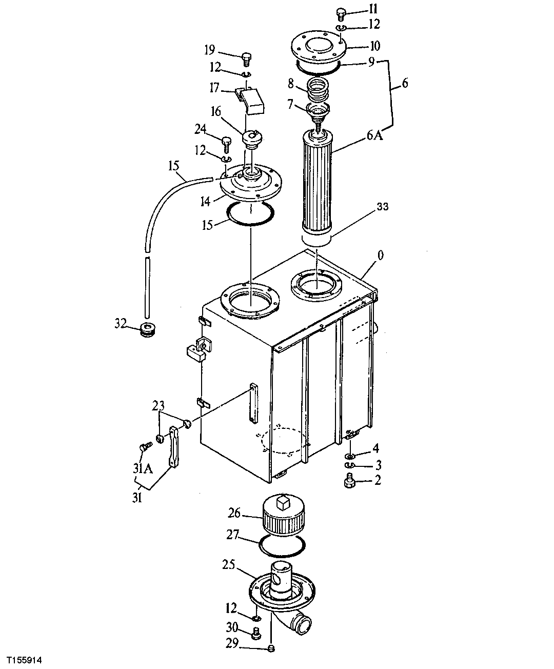
Запчасти John Deere 90D 131 - OIL RESERVOIR 2160 HYDRAULIC SYSTEM

Схема запчастей John Deere 90D - 131 - OIL RESERVOIR 2160 HYDRAULIC SYSTEM
FIT
1:1
100%

Артикул

Название

Примечание

Количество

0

6010239

Hydraulic Reservoir

(SUB FOR AT130730)

1шт.

2

19M8035

Cap Screw

M16 X 35

4шт.

3

12H294

Lock Washer

5/8"

4шт.

4

4114405

Washer

(SUB FOR TH101105)

4шт.

6

AT308569

Filter Element

(ALSO ORDER AT194547 ) (SUB FO R TH111010 ) (SUB FOR 4227353)

1шт.

6A

Filter Element

(SUB TH111010 AND AT194547)

1шт.

6B

AT171693

Filter

(NOT ILLUSTRATED) (CLEAN-UP FILTER) (LI MITED USE - APPROXIMATELY 3 HOURS) (IDLE SPEED) (ALSO REQUIRES CH17213 PACKING)

1шт.

7

4065280

Flow Control Hyd. Valve

(SUB FOR TH101887)

1шт.

8

4109393

Spring

(SUB FOR TH101883)

1шт.

9

CH17213

Packing

1шт.

10

4196607

Cover

(SUB FOR TH110543)

1шт.

11

19M7938

Cap Screw

M10 X 20

6шт.

12

12M7066

Lock Washer

10 mm

18шт.

14

8024804

Cover

(SUB FOR TH100668)

1шт.

15

TH100679

O-Ring

1шт.

16

4294701

Cap

(SUB FOR TH100671 ) (SUB FOR AT155393)

1шт.

17

9716639

Stop

(SUB FOR TH100672)

1шт.

19

J241032

Cap Screw

(SUB FOR TH100669 OR M111032)

1шт.

20

Bulk Hose

(SUB FOR TH100673)(MF PMK0 10-0507 CTL) ( 4149677 NLA)

1шт.

23

449558

Washer

(SUB FOR TH100675)

4шт.

24

19M8784

Screw

M10 X 20 (SUB FOR TH101355, 19M8356)

5шт.

25

7017641

Line

(SUB FOR AT126948)

1шт.

26

4190987

Filter Element

SUCTION (SUB FOR AT128326)

1шт.

27

TH100679

O-Ring

1шт.

29

942011

Fitting Plug

(SUB FOR 94-2011 AND TH100434)

1шт.

30

19M8784

Screw

M10 X 20 (SUB FOR TH101355, 19M8356)

6шт.

31

8053499

Level Gauge

(SUB FOR TH108293)

1шт.

31A

4100967

Bolt

(SUB FOR TH101894)

2шт.

32

94-2807

Grommet

(SUB FOR AT122152)

1шт.

33

AT194547

O-Ring

1шт.

Выбрано товаров: 30