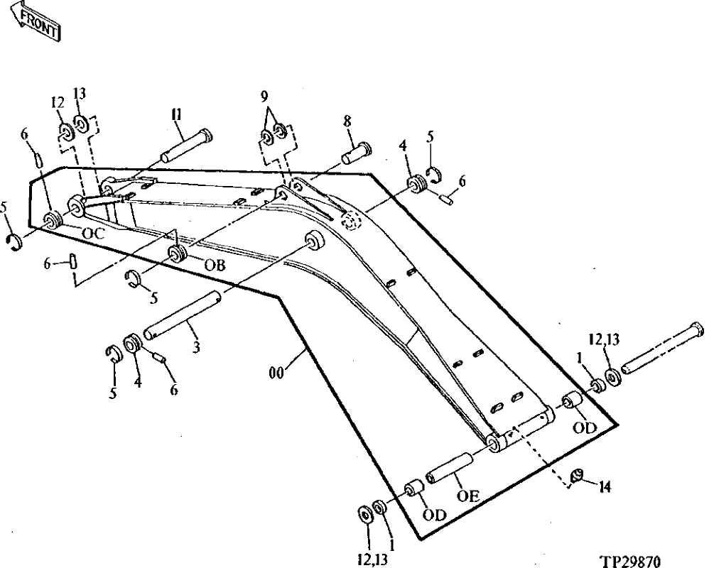
Запчасти John Deere 90D 149 - BOOM 3340 FRAMES

Схема запчастей John Deere 90D - 149 - BOOM 3340 FRAMES
FIT
1:1
100%

Артикул

Название

Примечание

Количество

0

7017840

Excavator Boom

(SUB FOR AT130469)

1шт.

0B

T115092

Bushing

1шт.

0C

TH108649

Bushing

1шт.

0D

4196556

Bushing

(SUB FOR TH108923)

2шт.

0E

4198286

Line

(SUB FOR AT130399)

1шт.

1

TH100374

Seal

2шт.

3

3051134

Pin Fastener

(SUB FOR AT130355)

1шт.

4

TH108649

Bushing

2шт.

5

4065688

Retainer

(SUB FOR TH100624)

4шт.

6

4065689

Pin Fastener

(SUB FOR TH100625)

4шт.

8

3037434

Pin Fastener

(SUB FOR AT130356)

1шт.

9

4081655

Washer

(SUB FOR AT130366)

2шт.

11

3037435

Pin Fastener

(SUB FOR AT130357)

1шт.

12

4087470

Washer

(SUB FOR AT130369)

3шт.

13

4075360

Washer

(SUB FOR TH101315)

3шт.

14

JD7769

Lubrication Fitting

(SUB FOR TH100364)

2шт.

Выбрано товаров: 16