Запчасти John Deere 90D 169 - BOOM CYLINDER (RIGHT) 3365 HYDRAULIC CYLINDERS

Схема запчастей John Deere 90D - 169 - BOOM CYLINDER (RIGHT) 3365 HYDRAULIC CYLINDERS
FIT
1:1
100%

Артикул

Название

Примечание

Количество

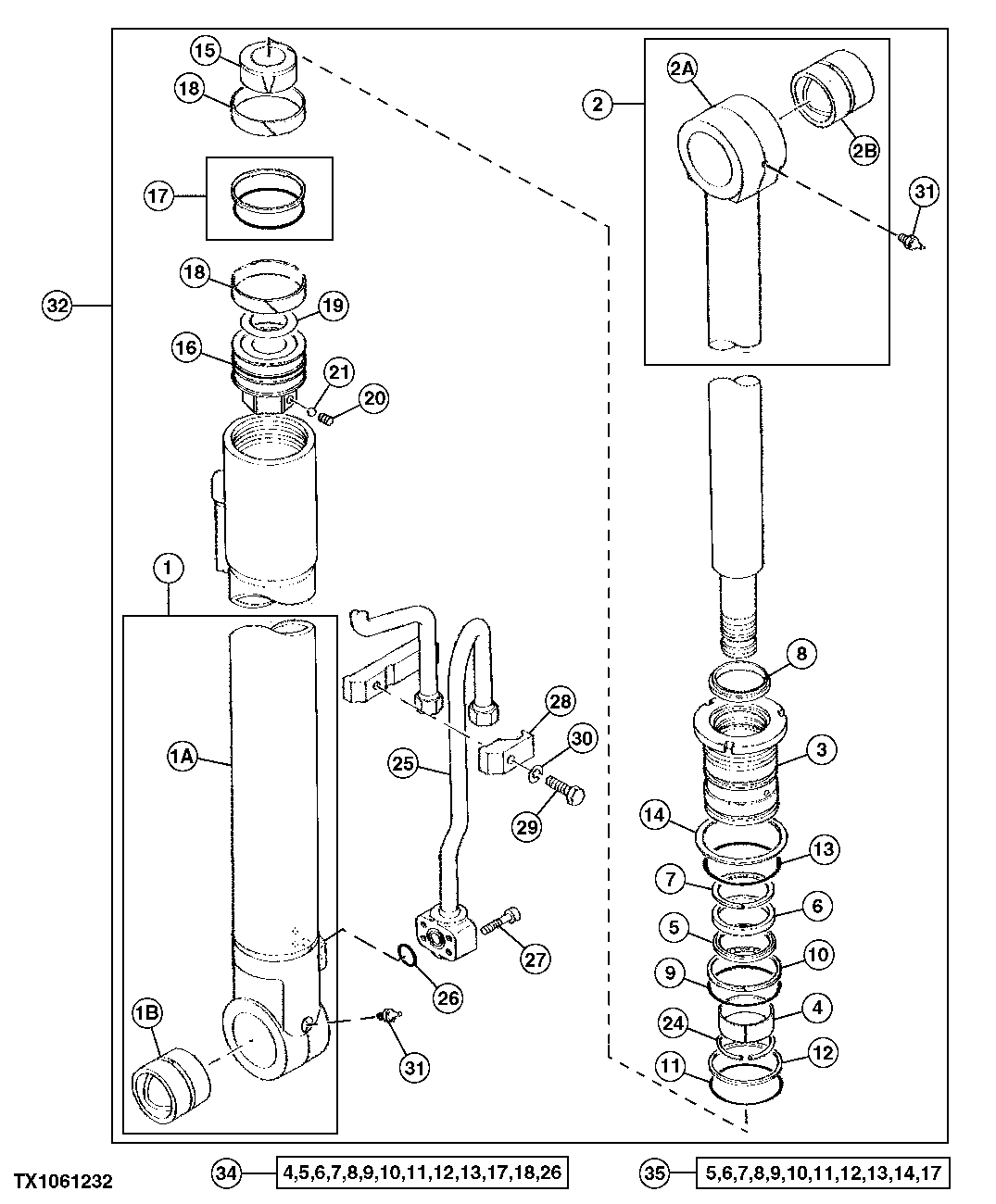
1

4228540

Cylinder

(SUB FOR AT130541 ) (SUB FOR AT130785)

1шт.

1A

Hydraulic Cylinder Barrel

(SUB AT130785)

1шт.

1B

0333009

Bushing

(SUB FOR AT130549)

1шт.

2

4228539

Piston

(SUB FOR AT130542 ) (SUB FOR AT130780)

1шт.

2A

Rod

(SUB AT130780)

1шт.

2B

4085432

Bushing

(SUB FOR AT130596)

1шт.

3

0333003

Hydr. Cylinder Rod Guide

(SUB FOR AT130543)

1шт.

4

AT264403

Bushing

(SUB FOR TH110290, 0330904)

1шт.

5

AT264376

Ring

(SUB FOR TH105766, 4S00167)

1шт.

6

AT264374

Seal

(SUB FOR TH105764)

1шт.

7

AT264375

Back-Up Ring

(SUB FOR TH105765)

1шт.

8

H158164

Scraper Ring

(SUB FOR TH105763)

1шт.

9

AT264234

O-Ring

(SUB FOR AT130595)

1шт.

10

AT264236

Back-Up Ring

(SUB FOR AT130599, 4133852)

1шт.

11

T204374

O-Ring

(SUB FOR TH105932 AND AT264385)

1шт.

12

AT264228

Washer

(SUB FOR AT130544, 0333004)

2шт.

13

AT264318

O-Ring

(SUB FOR AT130531, T110446)

1шт.

14

4043327

Lock Washer

(SUB FOR AT130594)

1шт.

15

0333005

Sleeve

(SUB FOR AT130545)

1шт.

16

0333006

Piston

(SUB FOR AT130546)

1шт.

17

AT264392

Ring

(SUB FOR TH109376)

1шт.

18

AT264229

Ring

(SUB FOR 0333007, 0495713, AT130547)

2шт.

19

0333008

Shim

(SUB FOR AT130548)

1шт.

20

22M7139

Set Screw

M10 X 10 (SUB FOR TH109380)

1шт.

21

400R

Ball

(SUB FOR TH109381)

1шт.

24

4510494

Snap Ring

(SUB FOR TH106169)

1шт.

25

0333010

Oil Line

(SUB FOR AT130550)

1шт.

26

O-Ring

(SUB FOR TH103574 ) (SUB 0976602)( AT264354 NSEP)

1шт.

27

19M8213

Screw

M10 X 50 (SUB FOR T108034)

4шт.

28

0310616

Clamp

(SUB FOR TH109386)

1шт.

29

19M7361

Cap Screw

M12 X 50 (SUB FOR T108037)

1шт.

30

12M7058

Lock Washer

12 mm (SUB FOR 12M7067)

1шт.

31

TH100074

Lubrication Fitting

2шт.

32

4194435

Hydraulic Cylinder

(SUB FOR AT130512)

1шт.

Hydraulic Cylinder

REMAN ( AT264203 NLA)

1шт.

33

Seal

(ROD END) (NOT ILLUSTRATED OR INCLU DED IN CYLINDER ASSEMBLY - FOR DETAI L SEE ARM AND BOOM HYDRAULIC LINES)

2шт.

34

Seal Kit

( AT264424 NLA) (SUB FOR AT130600 ) (SUB 4369764)

1шт.

35

4369764

Seal Kit

(SUB FOR 4216514)

1шт.

Выбрано товаров: 38