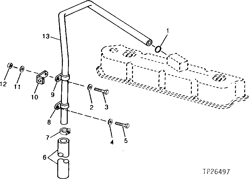
Запчасти John Deere 90D 31 - ENGINE VENTILATOR TUBE 0408 VENTILATING SYSTEM

Схема запчастей John Deere 90D - 31 - ENGINE VENTILATOR TUBE 0408 VENTILATING SYSTEM
FIT
1:1
100%

Артикул

Название

Примечание

Количество

1

R56463

O-Ring

1шт.

2

24H1685

Washer

11/32" X 47/64" X 0.083"

ARшт.

3

19H3411

Screw

3/8" X 1-1/8" (SUB FOR 1 9H3239, THIS APPLICATION)

1шт.

4

24M7096

Washer

10.500 X 18 X 1.600 mm

1шт.

5

19H1813

Cap Screw

5/16" X 5/8"

1шт.

6

R100540

Hose

(SUB FOR R84484)DO NOT REPLACE

NAшт.

7

TY22467

Clamp

(SUB FOR AR21839, THIS APPLICATION ) (SUB FOR AT145650)DO NOT REPLACE

NAшт.

8

T24432

Clamp

1шт.

9

T24432

Clamp

(SUB FOR R40791, THIS APPLICATION)

1шт.

10

R73975

Bracket

1шт.

11

12H304

Lock Washer

3/8"

ARшт.

12

N10215

Lock Nut

9.525 mm (3/8") (SUB FOR 14H812, THIS APPLICATION)

1шт.

13

R109941

Tube

(SUB FOR R59047)

1шт.

Выбрано товаров: 13