Запчасти John Deere 90D 35 - FUEL INJECTION NOZZLE ( - 299999) 0413 FUEL INJECTION SYSTEM

Схема запчастей John Deere 90D - 35 - FUEL INJECTION NOZZLE ( - 299999) 0413 FUEL INJECTION SYSTEM
FIT
1:1
100%

Артикул

Название

Примечание

Количество

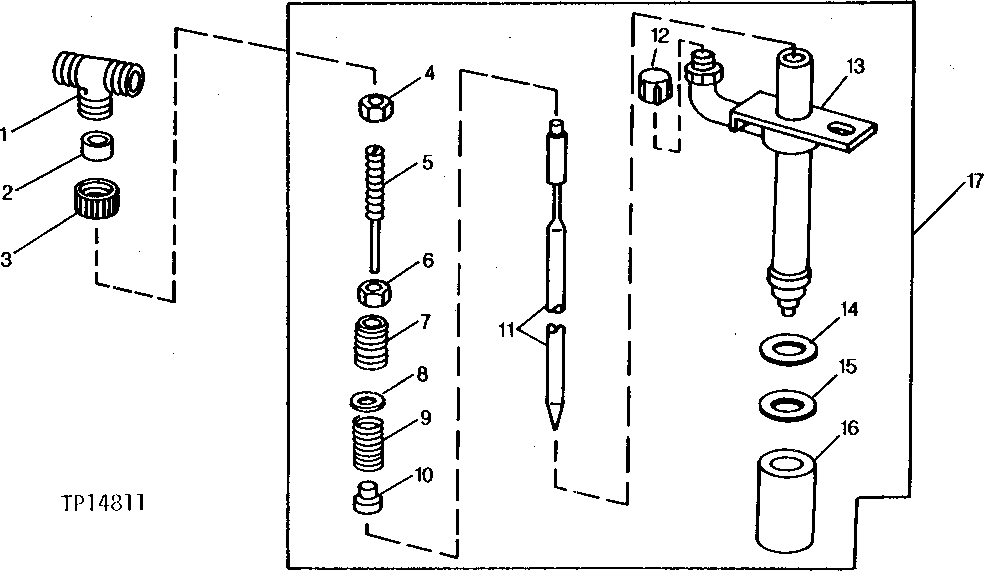
1

R79606

Tee Fitting

1шт.

2

R79605

Washer

1шт.

3

R79604

Tube Nut

1шт.

4

Nut

( R47733 NO LONGER AVAILABLE)

1шт.

5

Screw

( R69443 NO LONGER AVAILABLE)

1шт.

6

Nut

( R46675 NO LONGER AVAILABLE)

1шт.

7

Screw

( R62984 NO LONGER AVAILABLE)

1шт.

8

Shim

( R62981 NO LONGER AVAILABLE)

1шт.

9

Spring

( R69442 NO LONGER AVAILABLE)

1шт.

10

Valve Seat

( R62982 NO LONGER AVAILABLE)

1шт.

11

Valve

(SUB AR89564)

1шт.

12

Cap (Hat)

( T31174 NO LONGER AVAILABLE ) (USE FOR SERVICING NOZZLE)

1шт.

13

R67779

Clamp

1шт.

14

R60746

Washer

(K)

1шт.

15

R48000

Seal

(K) (USE WITH OVERSIZE NOZZLE BORE)

1шт.

R500390

Washer

(USE WITH STANDARD NOZZLE BORE)

1шт.

16

T24472

Cap

1шт.

17

AR89564

Injection Nozzle

(STANADYNE NO. 27333)

1шт.

SE500822

Injection Nozzle Reman

(PKG OF 4) (NLA)

1шт.

SE501099

Injection Nozzle Reman

(PKG OF 1) (STANADYNE NO. 27333) (REMAN FOR AR89564)

1шт.

Выбрано товаров: 20