Запчасти John Deere 90D 39 - FUEL INJECTION PUMP ELECTRIC SHUT-OFF KIT 0413 FUEL INJECTION SYSTEM

Схема запчастей John Deere 90D - 39 - FUEL INJECTION PUMP ELECTRIC SHUT-OFF KIT 0413 FUEL INJECTION SYSTEM
FIT
1:1
100%

Артикул

Название

Примечание

Количество

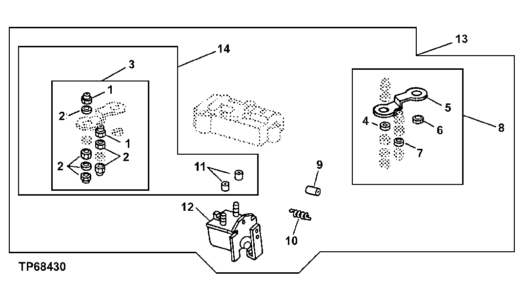
1

M63431

Lock Nut

2шт.

2

Washer

(SUB RE37091)

2шт.

3

RE37091

Electrical Repair Kit

NUT AND WASHER

1шт.

4

12M7084

Lock Washer

4.300 mm (SUB FOR R47077)

1шт.

5

Ground Cable

(SUB AR50874)

1шт.

6

12H295

Lock Washer

0.190"

1шт.

7

Washer

(SUB AR50874)

1шт.

8

AR50874

Floodlamp

GROUNDING WIRE

1шт.

9

R48795

Sleeve

1шт.

10

T11935

Spring

1шт.

11

T11937

Insulator

2шт.

12

Solenoid

(SUB RE62241)(ALSO ORDER RE37091)

1шт.

13

RE62241

Solenoid

(ALSO ORDER RE37091) SHUT-OFF(24-VOLT)

1шт.

14

Gasket Kit

( AR34612 - NO LONGER AVAILABLE)

1шт.

Выбрано товаров: 14