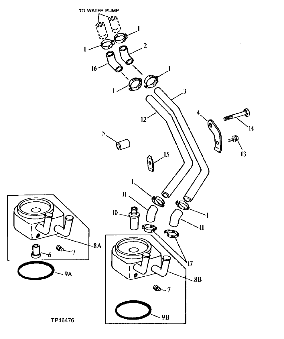
Запчасти John Deere 90D 44 - ENGINE OIL COOLER 0419 ENGINE OIL COOLER

Схема запчастей John Deere 90D - 44 - ENGINE OIL COOLER 0419 ENGINE OIL COOLER
FIT
1:1
100%

Артикул

Название

Примечание

Количество

1

RE32361

Hose Clamp

6шт.

2

R48989

Hose

(USE WITH RE10869)

1шт.

3

R55125

Line

1шт.

4

R55128

Flange

1шт.

5

28H2547

Spacer

0.423" X 0.675" X 1"

1шт.

6

R77332

Pressure Relief Valve

1шт.

7

R56947

Drain Plug

1шт.

8A

RE10869

Oil Cooler

(SUB RE31929)

1шт.

8B

RE31929

Oil Cooler

1шт.

9A

R70956

Washer

1шт.

9B

R105714

Washer

(USE WITH RE31929)

1шт.

10

T31306

Threaded Nipple

1шт.

11

R55127

Hose

(USE WITH RE10869)

2шт.

R99802

Hose

(USE WITH RE31929)

2шт.

12

R55126

Line

1шт.

13

AR76704

Screw

1шт.

14

19H3744

Screw

3/8" X 3-1/8"

1шт.

15

R55129

Half Clamp

1шт.

16

T22942

Hose

(USE WITH RE10869)

1шт.

R48989

Hose

(USE WITH RE31929)

1шт.

17

RE65978

Clamp

(SUB FOR AT18904 OR RE62322)

2шт.

Выбрано товаров: 21