Запчасти John Deere 0 2 - CAB 1810 - OPERATORS STATION 18

Схема запчастей John Deere 0 - 2 - CAB 1810 - OPERATORS STATION 18
FIT
1:1
100%

Артикул

Название

Примечание

Количество

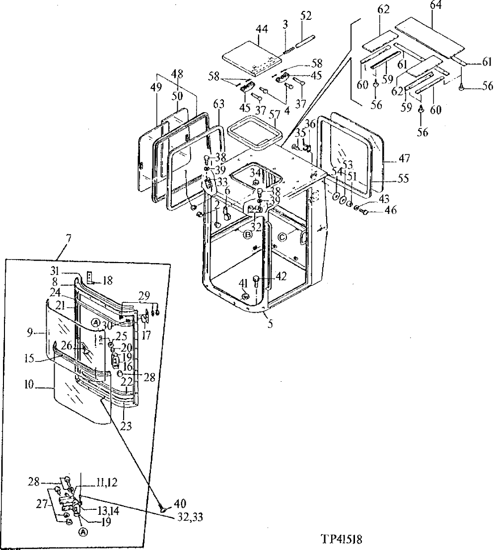
1

T110011

GROMMET

1шт.

2

99M7045

PLUG

(SUB FOR T110399)

2шт.

3

T110384

SPRING

2шт.

4

T110020

PIN

4шт.

5

AT110417

CAB

1шт.

6

AT110418

HOLDER

1шт.

7

WINDOW

( AT110054 NO LONGER AVAILABLE)

1шт.

8

T111042

FRAME

1шт.

9

T111043

WINDOWPANE

1шт.

10

T111044

WINDOWPANE

1шт.

11

T111045

LOCK

LEFT

1шт.

12

T111046

LOCK

RIGHT

1шт.

13

T111047

BRACKET

LEFT

1шт.

14

T111048

BRACKET

RIGHT

1шт.

15

T111049

COVER

1шт.

16

T111050

PLATE

2шт.

17

T111051

CLAMP

2шт.

18

T111052

CLAMP

2шт.

19

T111053

GASKET

4шт.

20

T111054

SPACER

6шт.

21

T111055

SEAL

2шт.

22

T111056

BRACKET

8шт.

23

T111057

PAD

1шт.

24

T111058

PAD

1шт.

25

T111059

GASKET

6шт.

26

T111060

SCREW

1шт.

27

AT110419

CAP SCREW AND NUT

1шт.

28

AT110420

SCREW

1шт.

29

AT110421

SCREW

1шт.

30

T111061

SCREW

1шт.

31

AT110422

GASKET KIT

1шт.

32

AT110055

BALANCER

LEFT

1шт.

33

AT110056

BALANCER

RIGHT

1шт.

34

T110146

NUT

1шт.

35

T111319

SCREW

4шт.

36

T110084

SUPPORT

1шт.

37

T110483

PIN

4шт.

38

T111409

BOLT

4шт.

39

12M7064

LOCK WASHER

5 MM

4шт.

40

T111321

SCREW

26шт.

41

R67593

NUT

(SUB FOR CH11460)

26шт.

42

19M7166

CAP SCREW

M10 X 20

11шт.

43

CH10525

WASHER

1шт.

44

AT110058

DOOR

1шт.

45

T110149

ARM

4шт.

46

T111318

SCREW

1шт.

47

T110151

WINDOWPANE

1шт.

48

AT110059

WINDOW

1шт.

49

T110152

WINDOWPANE

1шт.

50

T110153

WINDOWPANE

1шт.

51

T110081

BUMPER

1шт.

52

T110154

SHAFT

2шт.

53

T111069

WASHER

1шт.

54

T110175

WASHER

1шт.

55

T110157

PAD

(USE IF AVAILABLE)

1шт.

PAD

(SUB FOR T110157) (MAKE FROM T110165 BULK MATERIAL, CUT TO LENGTH)

1шт.

56

T110426

SCREW

14шт.

57

T110159

ISOLATOR

1шт.

58

11M7078

COTTER PIN

2 X 20 MM

8шт.

59

T110172

PLATE

2шт.

60

T110171

PLATE

2шт.

61

T110170

PLATE

2шт.

62

T110169

PANEL

2шт.

63

T110165

PAD

1шт.

64

T111068

ROOF

1шт.

Выбрано товаров: 65