Запчасти John Deere 0 2 - BLADE AND PIVOT PINS 3201 - BULLDOZERS 32

Схема запчастей John Deere 0 - 2 - BLADE AND PIVOT PINS 3201 - BULLDOZERS 32
FIT
1:1
100%

Артикул

Название

Примечание

Количество

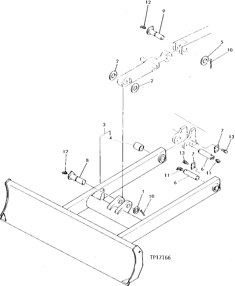
1

T110050

WASHER

1шт.

2

T110051

WASHER

2шт.

3

AT110079

BLADE

1шт.

4

T110008

BUSHING

2шт.

5

T110079

WASHER

1шт.

6

T111128

PIN FASTENER

2шт.

7

T110278

LOCK PLATE

2шт.

8

AT110081

PIN

1шт.

9

AT110468

PIN FASTENER

1шт.

10

11M7073

COTTER PIN

8 X 63 MM, (SUB FOR T110423)

2шт.

11

CH18478

ELBOW FITTING

2шт.

12

CH18478

ELBOW FITTING

2шт.

13

12M7066

LOCK WASHER

10 MM

4шт.

19M7402

CAP SCREW

M10 X 25

4шт.

Выбрано товаров: 14