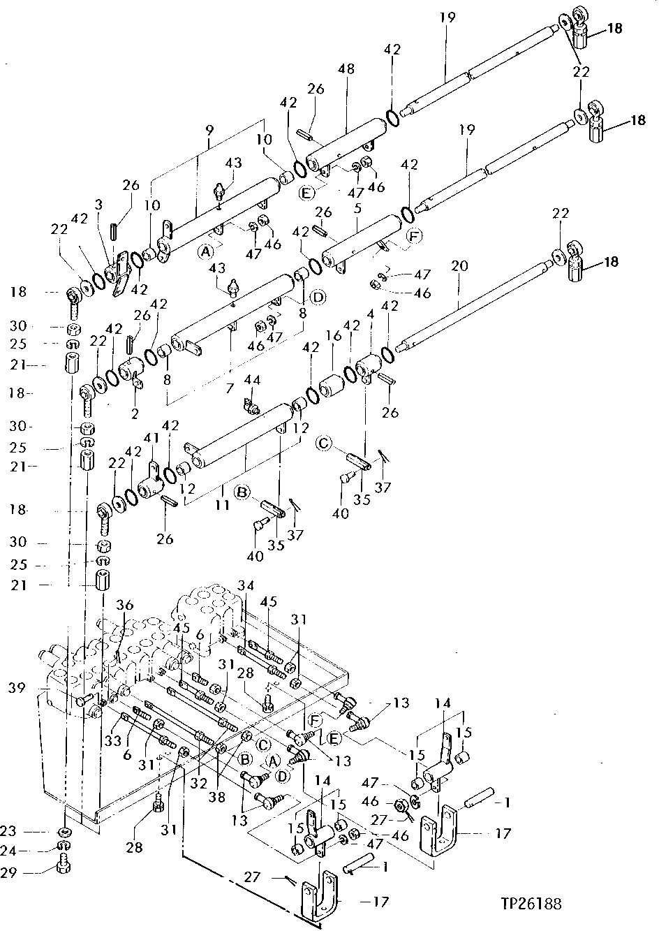
Запчасти John Deere 0 14 - CONTROL LEVER LINKAGE 3315 - BACKHOE 33

Схема запчастей John Deere 0 - 14 - CONTROL LEVER LINKAGE 3315 - BACKHOE 33
FIT
1:1
100%

Артикул

Название

Примечание

Количество

1

AT110001

SHAFT

2шт.

2

AT111795

LINK

1шт.

3

AT111796

LINK

1шт.

4

AT111797

LINK

1шт.

5

AT111798

LINK

1шт.

6

T114161

LINK

2шт.

7

AT111800

LINK

1шт.

8

T110842

BUSHING

2шт.

9

AT111801

LINK

1шт.

10

T110842

BUSHING

2шт.

11

AT111802

LINK

1шт.

12

T110842

BUSHING

2шт.

13

T110021

BALL JOINT SOCKET

6шт.

14

AT111803

LINK

2шт.

15

T110633

BUSHING

2шт.

16

BUSHING

( T114162 NLA)

1шт.

17

T110104

BRACKET

2шт.

18

T110107

LINK END

6шт.

19

T110108

SHAFT

2шт.

20

T110109

SHAFT

1шт.

21

T110112

PIN

6шт.

22

24M7180

WASHER

13 X 37 X 3 MM

6шт.

23

CH12008

WASHER

6шт.

24

12M7068

LOCK WASHER

14 MM

6шт.

25

12M7068

LOCK WASHER

14 MM

6шт.

26

CH17151

SPRING PIN

6шт.

27

11M7087

COTTER PIN

4 X 40 MM

2шт.

28

12M7066

LOCK WASHER

10 MM

4шт.

19M7166

CAP SCREW

M10 X 20

4шт.

29

19M8962

CAP SCREW

(SUB FOR T111316)

6шт.

30

14M7141

NUT

M14, (SUB FOR CH12041)

6шт.

31

14M7273

NUT

M8

6шт.

32

AT110101

LINK

LEFT TRACK (B), RIGHT TRACK (C)

2шт.

33

AT111812

LINK

BOOM SWING

1шт.

34

AT111813

ROD

BLADE

1шт.

35

T110118

LINK

2шт.

36

11M7094

COTTER PIN

1.600 X 16 MM

8шт.

37

11M7058

COTTER PIN

2 X 25 MM, (SUB FOR 11M7009)

2шт.

38

14M7274

NUT

M10

2шт.

39

T110484

PIN FASTENER

8шт.

40

T110627

PIN

2шт.

41

AT111808

LINK

1шт.

42

T114155

O-RING

13шт.

43

TH100074

LUBRICATION FITTING

2шт.

44

T116334

LUBRICATION FITTING

(SUB FOR T110450 OR TH100075)

1шт.

45

AT111809

ROD

2шт.

46

14M7273

NUT

M8

6шт.

47

12M7056

LOCK WASHER

8 MM, (SUB FOR 12M7065)

6шт.

48

AT111810

LINK

1шт.

Выбрано товаров: 49