Запчасти John Deere 0 2 - CYLINDER HEAD, VALVES, ROCKER ARMS AND ROCKER ARM SHAFT 409 - ENGINE 4

Схема запчастей John Deere 0 - 2 - CYLINDER HEAD, VALVES, ROCKER ARMS AND ROCKER ARM SHAFT 409 - ENGINE 4
FIT
1:1
100%

Артикул

Название

Примечание

Количество

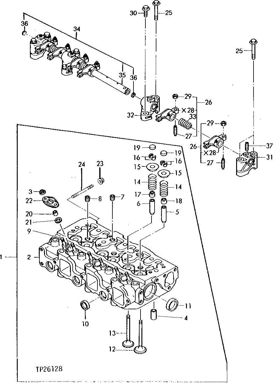
1

AM875532

CYLINDER HEAD

(USE IF AVAILABLE)

1шт.

2

CYLINDER HEAD

1шт.

3

M87828

NUT

6шт.

4

M801217

PLUG

3шт.

5

M801227

GUIDE

(INTAKE)

3шт.

6

M801228

GUIDE

(EXHAUST)

3шт.

7

CH16747

PLUG

2шт.

8

15H666

PIPE PLUG

9.525 MM (3/8")

3шт.

9

M801219

BOLT

6шт.

10

CH16749

PLUG

3шт.

11

CH16751

PLUG

2шт.

12

M801220

INTAKE VALVE

3шт.

13

M801221

EXHAUST VALVE

3шт.

14

M801222

SPRING

6шт.

15

M801223

RETAINER

6шт.

16

AM878862

RETAINER KIT

(SUB FOR CH10067) (INCLUDES SET OF TWO RETAINERS)

3шт.

17

T110650

SEAL

3шт.

18

CH10450

SEAL

3шт.

19

M801224

CAP

6шт.

20

M806732

GUARD

(SUB FOR M801016, THIS APPLICATION)

3шт.

21

M801017

VALVE SEAT

3шт.

22

M801018

RETAINER

3шт.

23

12M7056

LOCK WASHER

8 MM (0.315") (SUB FOR 12M7065)

2шт.

14M7273

NUT

M8

2шт.

24

CH12909

STUD

2шт.

25

19M7800

SCREW

M8 X 50

6шт.

26

AM875383

ARM

6шт.

27

M801027

SCREW

1шт.

28

ARM

(SUB AM875383)

1шт.

29

M801028

NUT

1шт.

30

19M7867

SCREW

M8 X 25

2шт.

31

M801022

SUPPORT

2шт.

32

M801023

SUPPORT

2шт.

33

M801025

SPRING

3шт.

34

AM875534

SHAFT

1шт.

35

SHAFT

(SUB AM875534)

1шт.

36

M800002

PLUG

2шт.

37

M801024

STUD

3шт.

Выбрано товаров: 38