Запчасти John Deere 0 6 - FUEL INJECTION VALVE 413 - ENGINE 4

Схема запчастей John Deere 0 - 6 - FUEL INJECTION VALVE 413 - ENGINE 4
FIT
1:1
100%

Артикул

Название

Примечание

Количество

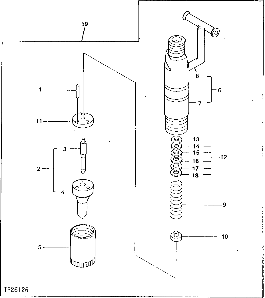
1

M801098

PIN

3шт.

2

AM875412

NOZZLE

1шт.

3

VALVE

(SUB AM875412)

1шт.

4

NOZZLE HOLDER

(SUB AM875412)

1шт.

5

M801093

NUT

1шт.

6

AM875330

NOZZLE HOLDER

1шт.

7

HOLDER

(SUB AM875330)

1шт.

8

FUEL LINE

(SUB AM875330)

1шт.

9

M801096

SPRING

1шт.

10

M800212

RETAINER

1шт.

11

M801097

VALVE SEAT INSERT

1шт.

12

AM875069

SHIM

1шт.

13

SHIM

(SUB AM875069)

1шт.

14

SHIM

(SUB AM875069)

1шт.

15

SHIM

(SUB AM875069)

1шт.

16

SHIM

(SUB AM875069)

1шт.

17

SHIM

(SUB AM875069)

1шт.

18

SHIM

(SUB AM875069)

1шт.

19

AM875411

NOZZLE

(SUB AM875069)

3шт.

Выбрано товаров: 0