Качественные детали и логистика
Оригинальные и аналоговые запчасти с доставкой по России, Казахстану и Беларуси
©2022 PartSell ООО "Система" ИНН 2463123282 ОГРН 1212400004838
Центральный офис: г. Красноярск, Академика Киренского, д.87, пом.4
Телефон: 8 (800) 777-65-74 Email: zakaz@partsell.ru
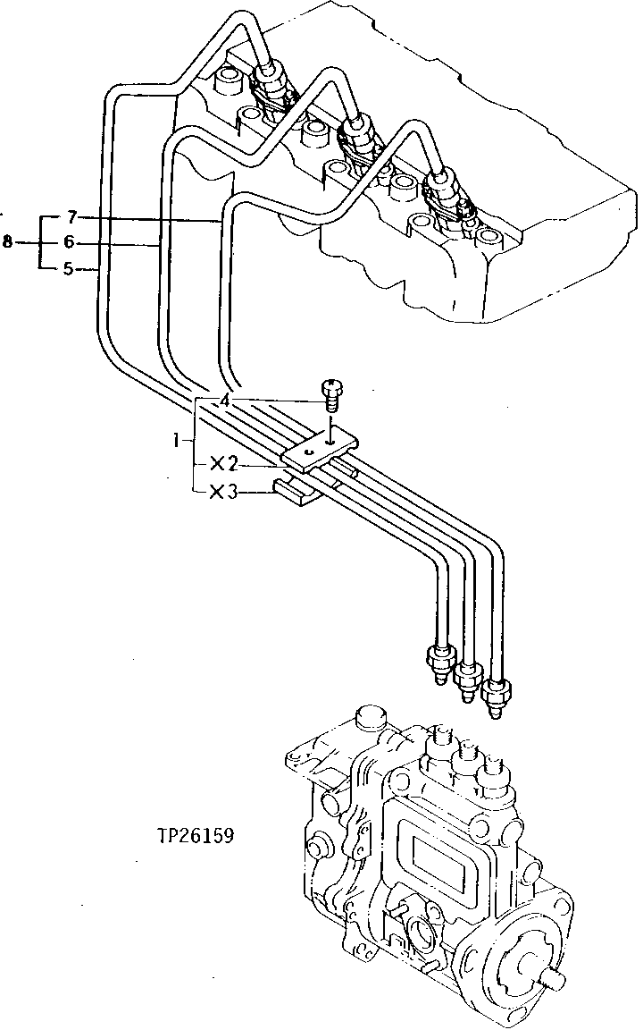
8 - FUEL INJECTION LINES
№
Артикул
Название
Примечание
Количество
1
AM100752
CLAMP
1шт.
2
HALF CLAMP
(SUB AM100752)
3
4
M806745
BOLT
(SUB FOR M87907, THIS APPLICATION)
2шт.
5
M808909
PIPE
(SUB FOR AM875545)
6
M808910
(SUB FOR AM875546)
7
M808911
(SUB FOR AM875547)
8
AM880134
LINE
(SUB FOR AM876241)
Выбрано товаров: 0