Запчасти John Deere 30CLC 198 - ENGINE CONTROL UNIT WIRING HARNESS 1674 WIRING HARNESS & SWITCHES (IF NOT INCLUDED ELSEWHERE)

Схема запчастей John Deere 30CLC - 198 - ENGINE CONTROL UNIT WIRING HARNESS 1674 WIRING HARNESS & SWITCHES (IF NOT INCLUDED ELSEWHERE)
FIT
1:1
100%

Артикул

Название

Примечание

Количество

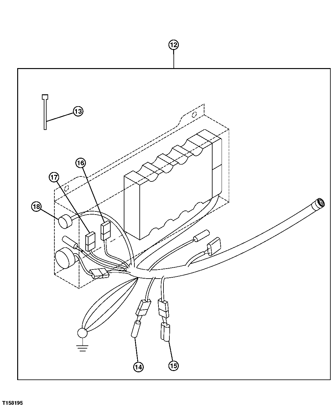
12

AT199841

Wiring Harness

(SUB FOR AT192052)

1шт.

13

H77698

Tie Band

ARшт.

14

AT202778

Electrical Connector Assy

(TERMINATION NODE)

1шт.

15

AT190929

Resistor

1шт.

16

57M7121

Fuse

1шт.

17

57M7125

Fuse

1шт.

18

57M7477

Electrical Connector Cap

1шт.

Выбрано товаров: 7