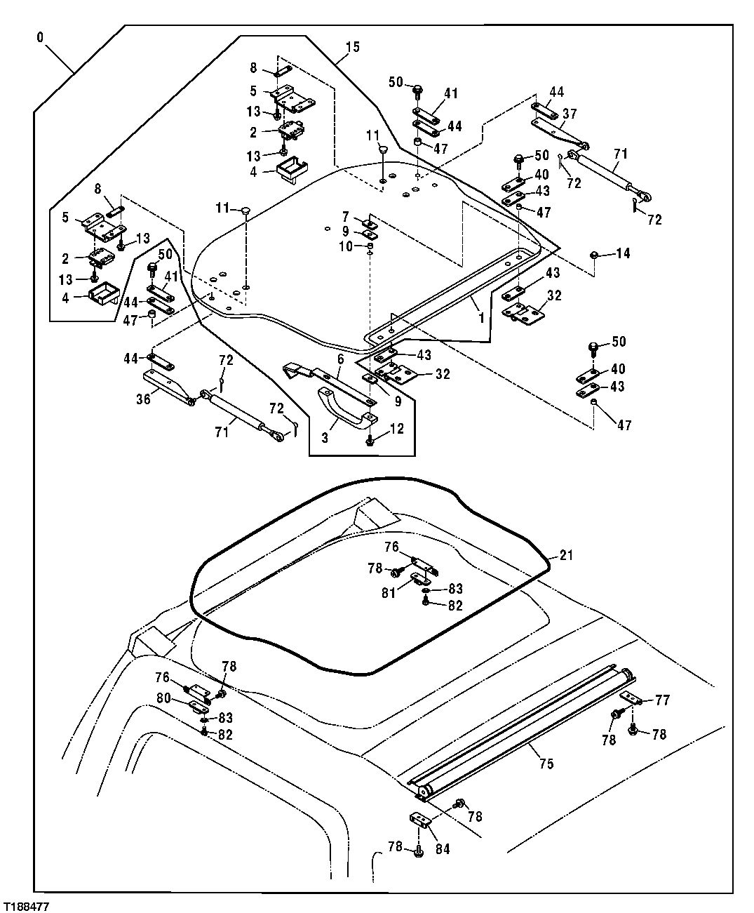
Запчасти John Deere 30CLC 216 - CAB COMPONENTS (TOP HATCH) 1810 OPERATOR ENCLOSURE

Схема запчастей John Deere 30CLC - 216 - CAB COMPONENTS (TOP HATCH) 1810 OPERATOR ENCLOSURE
FIT
1:1
100%

Артикул

Название

Примечание

Количество

0

9202944

Cab

(SUB FOR 4474296 OR 4602549)(CONTAINS ALL ITEMS ON THIS PAGE - ADDITIONAL COMPONENT S LISTED ON PREVIOUS AND FOLLOWING PAGES)

1шт.

1

4460405

Window

1шт.

2

4369615

Lock

SUB FOR (2) AT214118

2шт.

3

4204579

Handle

SUB FOR 4411821

1шт.

4

4369616

Cover

SUB FOR (2) AT214119

2шт.

5

4474479

Bracket

2шт.

6

4474498

Bracket

1шт.

7

4386452

Plate

2шт.

8

4474480

Packing

4шт.

9

4386450

Packing

4шт.

10

4474494

Bushing

2шт.

11

4369674

Bushing

SUB FOR (8) AT214172

8шт.

12

Screw With Washer

J680630 NLA

2шт.

21M7466

Screw

M6 X 30

2шт.

12M7006

Lock Washer

6 mm

2шт.

24M7054

Washer

6.400 X 12 X 1.600 mm

2шт.

13

J680514

Screw With Washer

SUB FOR (16) AT213610

16шт.

14

4474493

Nut

2шт.

15

Roof

KIT (ROOF ASSEMBLY) ( 4456952 NLA)

1шт.

21

4474515

Isolator

1шт.

32

4474478

Hinge

2шт.

36

4477219

Bracket

1шт.

37

4477218

Bracket

1шт.

40

4474477

Plate

2шт.

41

4477217

Plate

2шт.

43

4474476

Packing

4шт.

44

4477216

Packing

4шт.

47

4474482

Bushing

8шт.

50

19M7162

Cap Screw

M8 X 16 SUB FOR (8) AT214307

8шт.

Washer

12M7065 NLA

8шт.

24M1136

Washer

8шт.

71

4369619

Cylinder

SUB FOR (2) AT214122

2шт.

72

H132922

Cotter Pin

4шт.

75

4474499

Roller

1шт.

76

4474514

Bracket

2шт.

77

4609477

Bracket

(SUB FOR 4474513)(RH)

1шт.

4609479

Screw

1шт.

4609480

Isolator

1шт.

78

4609479

Screw

SUB FOR 4444634

12шт.

80

4474518

Stop

1шт.

81

4474517

Stop

1шт.

82

21M7258

Screw

M4 X 8

4шт.

83

4459249

Washer

4шт.

84

4609478

Bracket

(SUB FOR 4474513)(LH)

1шт.

4609479

Screw

1шт.

4609480

Isolator

1шт.

Выбрано товаров: 46