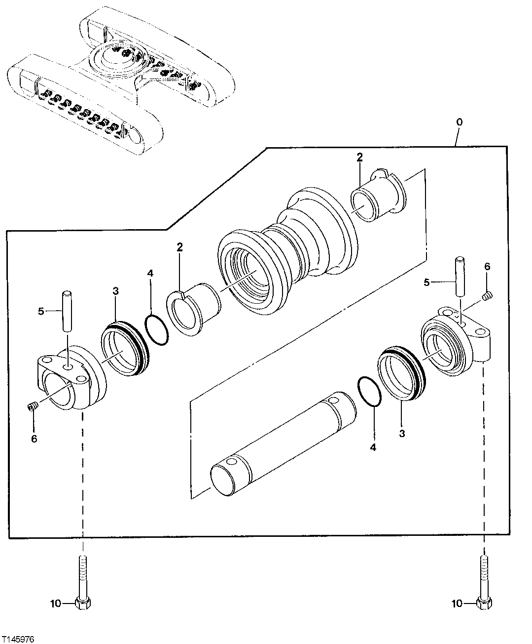
Запчасти John Deere 30CLC 13 - LOWER ROLLER (330CLC) 0130 TRACK SYSTEMS

Схема запчастей John Deere 30CLC - 13 - LOWER ROLLER (330CLC) 0130 TRACK SYSTEMS
FIT
1:1
100%

Артикул

Название

Примечание

Количество

0

AT314421

Bottom Roller

SUB FOR AT250257 OR 9168173

18шт.

2

Bushing

AT184357, 3081250, AND T210829 NLA

2шт.

3

AT180017

Seal

SUB FOR TH100433

2шт.

4

AT180019

O-Ring

SUB FOR CH14671

2шт.

5

T210830

Pin

SUB FOR TH103158 OR 4137684

2шт.

6

AT180007

Fitting Plug

SUB FOR TH100434 OR 94-2011

2шт.

10

19M7963

Cap Screw

M20 X 100

72шт.

Выбрано товаров: 7