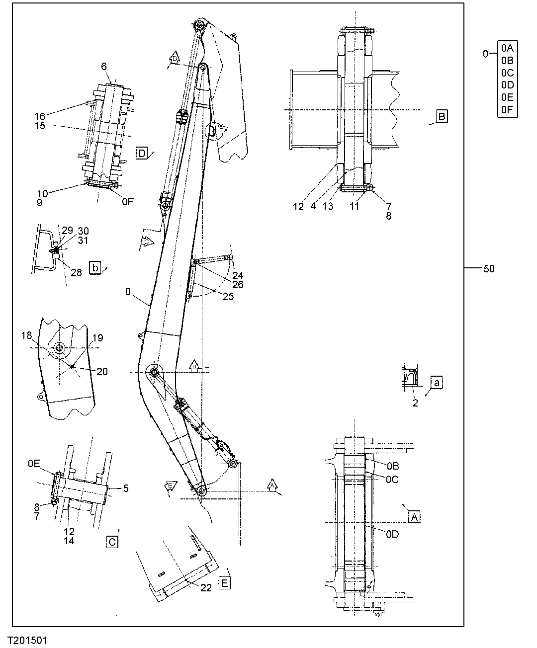
Запчасти John Deere 30CLC 319 - BOOM, SUPER LONG FRONT (330CLC) 3344 BOOM

Схема запчастей John Deere 30CLC - 319 - BOOM, SUPER LONG FRONT (330CLC) 3344 BOOM
FIT
1:1
100%

Артикул

Название

Примечание

Количество

0

7040076

Excavator Boom

1шт.

0A

Excavator Boom

( 5007598 NLA)

1шт.

0B

4443884

Bushing

(SUB FOR 4381854)

2шт.

0C

4381855

Bushing

2шт.

0D

4382145

Spacer

1шт.

0E

4662435

Stop

(SUB FOR 4205110)

1шт.

0F

Plate

(SUB FOR 4143531)( TH103198 NLA)

1шт.

2

TH103200

Seal

(SUB FOR 4085479)

2шт.

4

AT219636

Pin

(SUB FOR 3079491)

1шт.

5

AT219637

Pin

(SUB FOR 3079492)(CROSSBOLT PIN)

1шт.

8080908

Pin Fastener

(FLAG PIN)

1шт.

6

3091573

Pin Fastener

1шт.

7

4435584

Pin Fastener

3шт.

8

14M7277

Nut

M20 (SUB FOR J950020 ) (SUB FOR 3063826)

6шт.

9

4435127

Pin Fastener

1шт.

10

14M7277

Nut

M20 (SUB FOR J950020 ) (SUB FOR 3063826)

2шт.

11

4662435

Stop

(SUB FOR 4205110)

2шт.

12

4387440

Washer

4шт.

13

4387444

Washer

2шт.

14

4387443

Washer

1шт.

15

4388919

Washer

2шт.

16

4388920

Washer

1шт.

18

4224631

Angle

1шт.

19

J901425

Cap Screw

1шт.

20

12H317

Lock Washer

9/16" (SUB FOR A590914)

1шт.

22

94-2023

Fitting Plug

1шт.

24

4287251

Pin Fastener

2шт.

25

9738224

Cylinder

1шт.

26

11M7034

Cotter Pin

5 X 63 mm (SUB FOR A766063)

2шт.

28

4381730

Isolator

1шт.

29

4381729

Spacer

3шт.

30

19M7358

Cap Screw

M10 X 40 (SUB FOR J901040)

3шт.

31

24M7028

Washer

10.500 X 20 X 2 mm (SUB FOR A590110)

3шт.

50

Kit

( AT314804 NLA) Super Long Front

1шт.

Выбрано товаров: 34