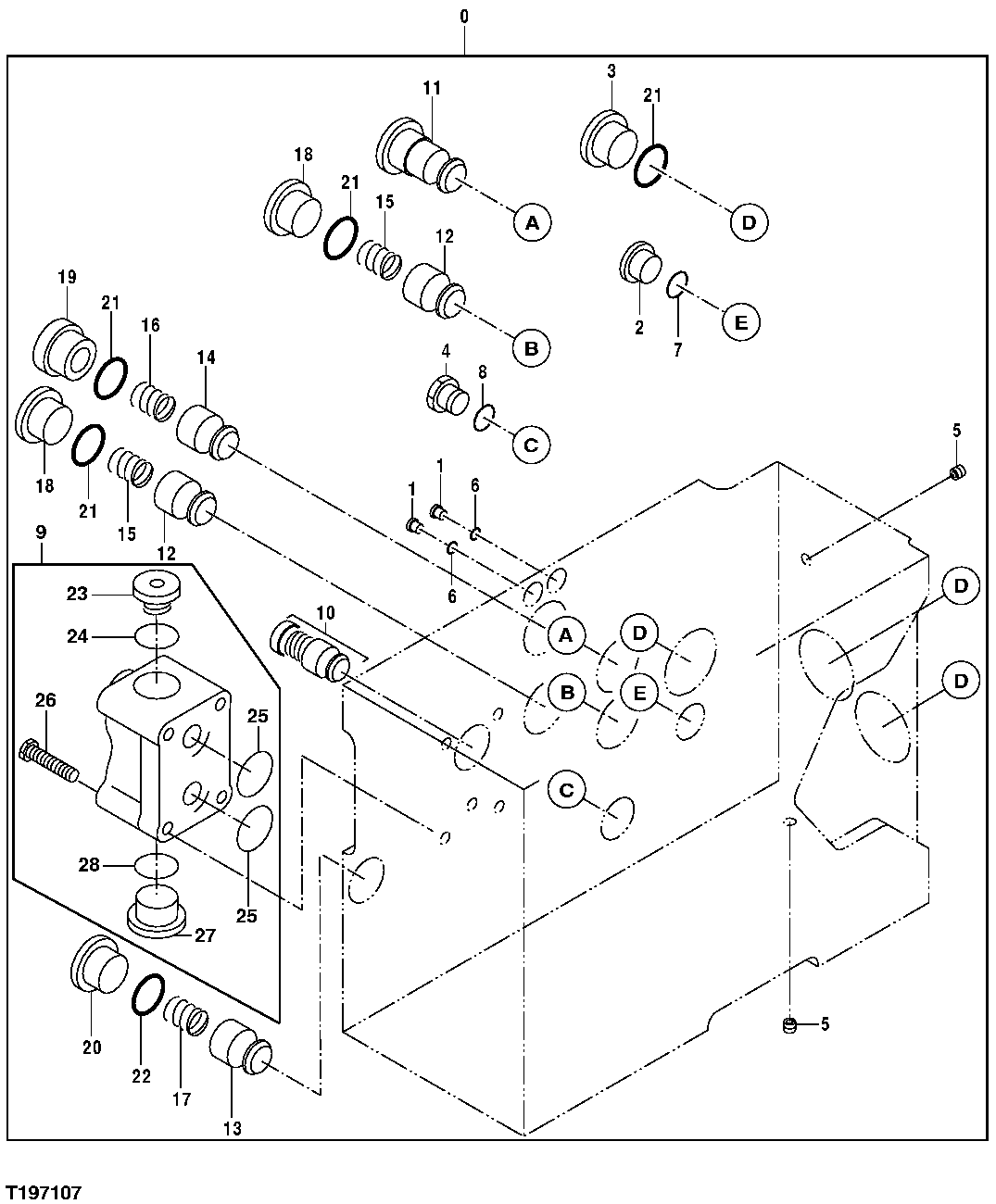
Запчасти John Deere 30CLC 335 - CONTROL VALVE COMPONENTS (FOUR SPOOL SIDE) 3360 HYDRAULIC SYSTEM

Схема запчастей John Deere 30CLC - 335 - CONTROL VALVE COMPONENTS (FOUR SPOOL SIDE) 3360 HYDRAULIC SYSTEM
FIT
1:1
100%

Артикул

Название

Примечание

Количество

0

4433970

Hyd Actuated Control Valve

(SUB FOR TH4433970)

1шт.

1

0719004

Fitting Plug

(SUB FOR AT219523)

2шт.

2

0629404

Fitting Plug

(SUB FOR AT213630)

1шт.

3

0697911

Fitting Plug

(SUB FOR AT219506)

3шт.

4

AT219507

Fitting Plug

1шт.

5

0451028

Fitting Plug

2шт.

6

4506408

O-Ring

(SUB FOR TH101490)

2шт.

7

M800650

Packing

1шт.

8

CH11570

O-Ring

1шт.

9

0719201

Flow Control Hyd. Valve

(SUB FOR AT219550)

1шт.

10

0719202

Flow Control Hyd. Valve

(SUB FOR AT219551)

1шт.

11

0816601

Valve

(SUB FOR 0719203)

1шт.

12

0719107

Poppet

(SUB FOR AT219538)

2шт.

13

0719204

Poppet

(SUB FOR AT219553)

1шт.

14

0719109

Poppet

(SUB FOR AT219540)

1шт.

15

0719110

Spring

(SUB FOR AT219541)

2шт.

16

0719112

Spring

(SUB FOR AT219543)

1шт.

17

0719205

Spring

(SUB FOR AT219554)

1шт.

18

0719114

Fitting Plug

(SUB FOR AT219545)

2шт.

19

0719115

Fitting Plug

(SUB FOR AT219546)

1шт.

20

0719003

Fitting Plug

(SUB FOR AT219522)

1шт.

21

AT318035

O-Ring

(SUB FOR 4506424, TH100055)

6шт.

22

CH12329

Packing

1шт.

23

AT219507

Fitting Plug

1шт.

24

CH11570

O-Ring

1шт.

25

AT264360

O-Ring

(SUB FOR 4506430)

2шт.

26

19M8340

Screw

M10 X 65

4шт.

27

TH0718902

Cover

1шт.

28

CH12329

Packing

1шт.

Выбрано товаров: 29