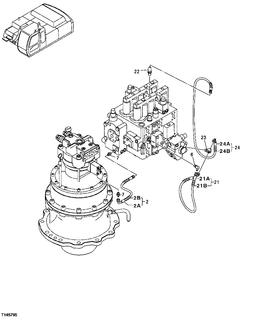
Запчасти John Deere 30CLC 345 - PILOT LINES (CONTROL VALVE TO SWING MOTOR) 3360 HYDRAULIC SYSTEM

Схема запчастей John Deere 30CLC - 345 - PILOT LINES (CONTROL VALVE TO SWING MOTOR) 3360 HYDRAULIC SYSTEM
FIT
1:1
100%

Артикул

Название

Примечание

Количество

2

Hydraulic Hose

TH9190854 NLA

1шт.

2A

4618606

Hose

SUB FOR 4453172 OR 4465683

1шт.

2B

4327315

Hose Guard

4327293 NLA SUB FOR AT213831

1шт.

6

4154670

Elbow Fitting

SUB FOR A852322, P67984 OR THA852322

1шт.

6A

M800650

Packing

Not Illustrated

1шт.

7

4200465

Adapter Fitting

SUB FOR TH108328

2шт.

7A

M800650

Packing

(NOT ILLUSTRATED)

1шт.

21

Hydraulic Hose

TH9190861 NLA

1шт.

21A

4437902

Hydraulic Hose

SUB FOR TH4437902

1шт.

21B

4327315

Hose Guard

4327293 NLA SUB FOR AT213831

2шт.

22

4351281

Fitting

SUB FOR AP33426

1шт.

22A

CH11570

O-Ring

(NOT ILLUSTRATED)

1шт.

23

A852522

Tee Fitting

SUB FOR THA852522

1шт.

23A

M800650

Packing

(NOT ILLUSTRATED)

1шт.

24

Hydraulic Hose

TH9190865 NLA

1шт.

24A

4437734

Hydraulic Hose

SUB FOR TH4437734

1шт.

24B

4327315

Hose Guard

4327293 NLA SUB FOR AT213831

1шт.

Выбрано товаров: 17