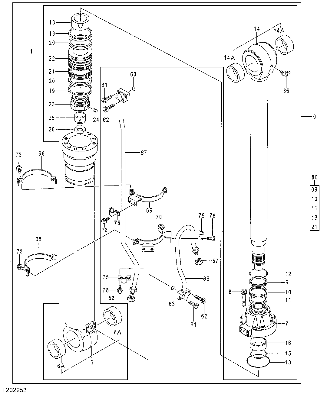
Запчасти John Deere 30CLC 376 - Arm Cylinder, Super Long Front, 330CLC 3360 HYDRAULIC SYSTEM

Схема запчастей John Deere 30CLC - 376 - Arm Cylinder, Super Long Front, 330CLC 3360 HYDRAULIC SYSTEM
FIT
1:1
100%

Артикул

Название

Примечание

Количество

0

9292426

Hydraulic Cylinder

1шт.

1

9195062

Cylinder

NLA

1шт.

6

Hydraulic Cylinder Barrel

SUB 4646010, (2) 3088474, 8079073, 8079076

1шт.

4646010

Hydraulic Cylinder Barrel

1шт.

4646010

Hydraulic Cylinder Barrel

SUB FOR PG201469

1шт.

6A

4381859

Bushing

2шт.

7

1025101

Hydr. Cylinder Rod Guide

1шт.

8

M342700

Screw

8шт.

9

AT264305

Seal

SUB FOR 4370927

1шт.

10

AT264300

Seal

SUB FOR 4411659

1шт.

11

4411656

Ring

1шт.

12

4370058

Snap Ring

1шт.

13

AT264309

O-Ring

For Heat Problems See DTA C Solution SUB FOR 4393350

1шт.

4641099

O-Ring

Heat Resistant

1шт.

14

7037432

Rod

SUB FOR 7033936

1шт.

14A

4381859

Bushing

2шт.

15

4372816

Snap Ring

1шт.

16

AT264304

Bushing

SUB FOR 4370337

1шт.

18

2041632

Ring

1шт.

19

AT264248

Ring

SUB FOR 4370063 OR AT264302

2шт.

20

AT264303

Wear Ring

SUB FOR 4370064

2шт.

21

AT264301

Seal

SUB FOR 4370062

1шт.

22

3080654

Piston

1шт.

23

3062096

Nut

1шт.

24

4201806

Set Screw

1шт.

25

3079648

Ring

1шт.

26

4387203

Plug

1шт.

35

T116334

Lubrication Fitting

SUB FOR J75581

1шт.

56

4260204

Nut

1шт.

57

4260205

Nut

1шт.

61

19M8341

Screw

M12 X 45 SUB FOR M341245

4шт.

62

19M8444

Screw

M12 X 60 SUB FOR M341260

4шт.

63

AT264324

O-Ring

SUB FOR A811035 OR TH100044

2шт.

66

8070112

Oil Line

1шт.

67

8070113

Oil Line

1шт.

68

3080222

Clamp

USE WITH 9195078

2шт.

3088474

Clamp

USE WITH 4646010

2шт.

69

8068103

Clamp

USE WITH 9195078

1шт.

8079073

Clamp

USE WITH 4646010

1шт.

70

8068102

Clamp

USE WITH 9195078

1шт.

8079076

Clamp

USE WITH 4646010

1шт.

73

19M7550

Cap Screw

M10 X 35 SUB FOR J011035

4шт.

75

4174241

Clamp

3шт.

76

19M7402

Cap Screw

M10 X 25 SUB FOR J011025

6шт.

80

9180582

Seal Kit

For Heat Problems See DTAC Solution SUB FOR 9173711, AT264441 OR AT250268

1шт.

9257552

Seal Kit

Heat Resistant

1шт.

90

Mounting Parts

AT314804 NLA Super Long Front Kit Not Illustrated

1шт.

Выбрано товаров: 47