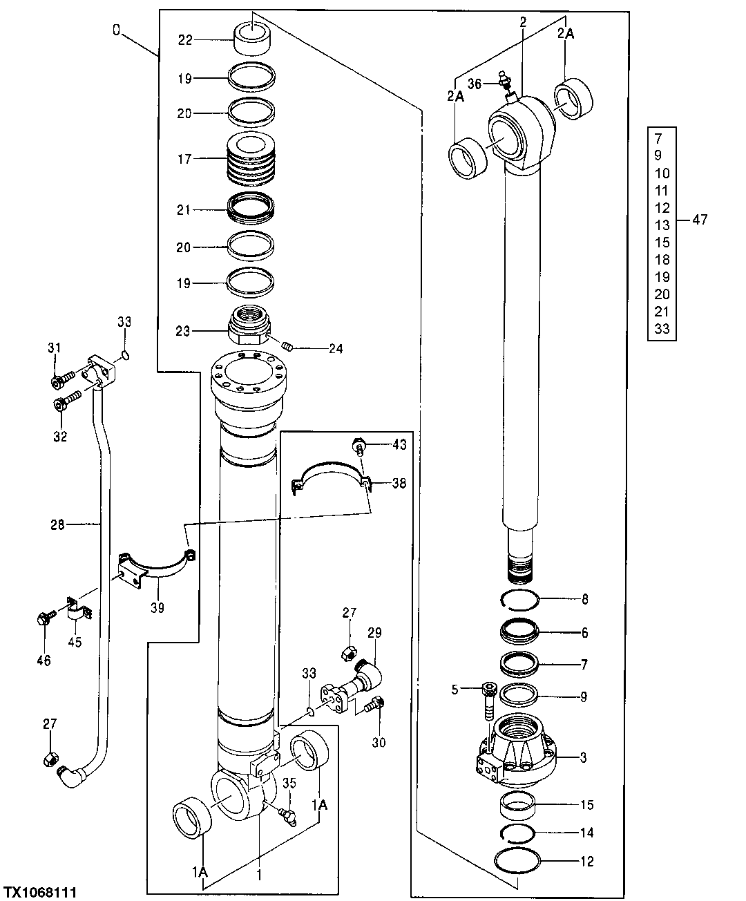
Запчасти John Deere 30CLC 377 - Bucket Cylinder ( - XXXXXX) 3360 HYDRAULIC SYSTEM

Схема запчастей John Deere 30CLC - 377 - Bucket Cylinder ( - XXXXXX) 3360 HYDRAULIC SYSTEM
FIT
1:1
100%

Артикул

Название

Примечание

Количество

0

TH9206361

Hydraulic Cylinder

Cone Shaped Rod Guide W ith 8 Mounting Bolts NLA

1шт.

1

4646011

Hydraulic Cylinder Barrel

SUB FOR TH9206364 OR 9206364, ALSO ORDER 3088557 AND 8079157

1шт.

3088557

Clamp

1шт.

8079157

Clamp

1шт.

1A

4358100

Bushing

SUB FOR AT217787

2шт.

2

7037769

Rod

SUB FOR TH7037769

1шт.

2A

4381857

Bushing

SUB FOR AT250028

2шт.

3

1022645

Hydraulic Cylinder Cap

SUB FOR AT181791

1шт.

5

19M8630

Screw

M24 X 80

8шт.

6

AT264294

Seal

SUB FOR AT217969 OR 4348201

1шт.

7

AT264408

Seal

SUB FOR TH111216

1шт.

8

4369508

Ring

SUB FOR AT217983

1шт.

9

4389326

Ring

SUB FOR AT264409

1шт.

10

AT264399

Back-Up Ring

Not Illustrated

1шт.

11

AT264406

O-Ring

Not Illustrated

1шт.

12

AT264274

O-Ring

SUB FOR AT159582 OR 4267138

1шт.

13

AT264407

Seal

Not Illustrated

1шт.

14

4264982

Snap Ring

SUB FOR AT131254

1шт.

15

AT264239

Bushing

SUB FOR AT131420

1шт.

17

3080835

Piston

SUB FOR AT219645

1шт.

18

AT280433

Back-Up Ring

Not Illustrated

1шт.

19

AT264400

Ring

SUB FOR TH110062

2шт.

20

AT264401

Wear Ring

SUB FOR TH110063

2шт.

21

AT264402

Ring

SUB FOR TH110065

1шт.

22

4194625

Ring

SUB FOR TH111275

1шт.

23

3039348

Nut

SUB FOR TH111191

1шт.

24

4201806

Set Screw

SUB FOR TH110066

1шт.

27

4260204

Nut

SUB FOR AT219663

2шт.

28

8036941

Oil Line

SUB FOR TH111478

1шт.

29

8036940

Oil Line

SUB FOR TH111477

1шт.

30

19M8448

Screw

M12 X 35

4шт.

31

19M8341

Screw

M12 X 45

2шт.

32

19M8444

Screw

M12 X 60

2шт.

33

AT264324

O-Ring

SUB FOR TH100044

2шт.

35

T116334

Lubrication Fitting

1шт.

36

TH100074

Lubrication Fitting

1шт.

38

3088557

Clamp

SUB FOR TH3088557

2шт.

39

8079157

Clamp

SUB FOR TH8079157

2шт.

43

19M7550

Cap Screw

M10 X 35

4шт.

12M7066

Lock Washer

10 mm

4шт.

45

4174241

Clamp

SUB FOR TH110059

2шт.

46

19M7402

Cap Screw

M10 X 25

4шт.

12M7066

Lock Washer

10 mm

4шт.

47

AT264430

Seal Kit

1шт.

Выбрано товаров: 44