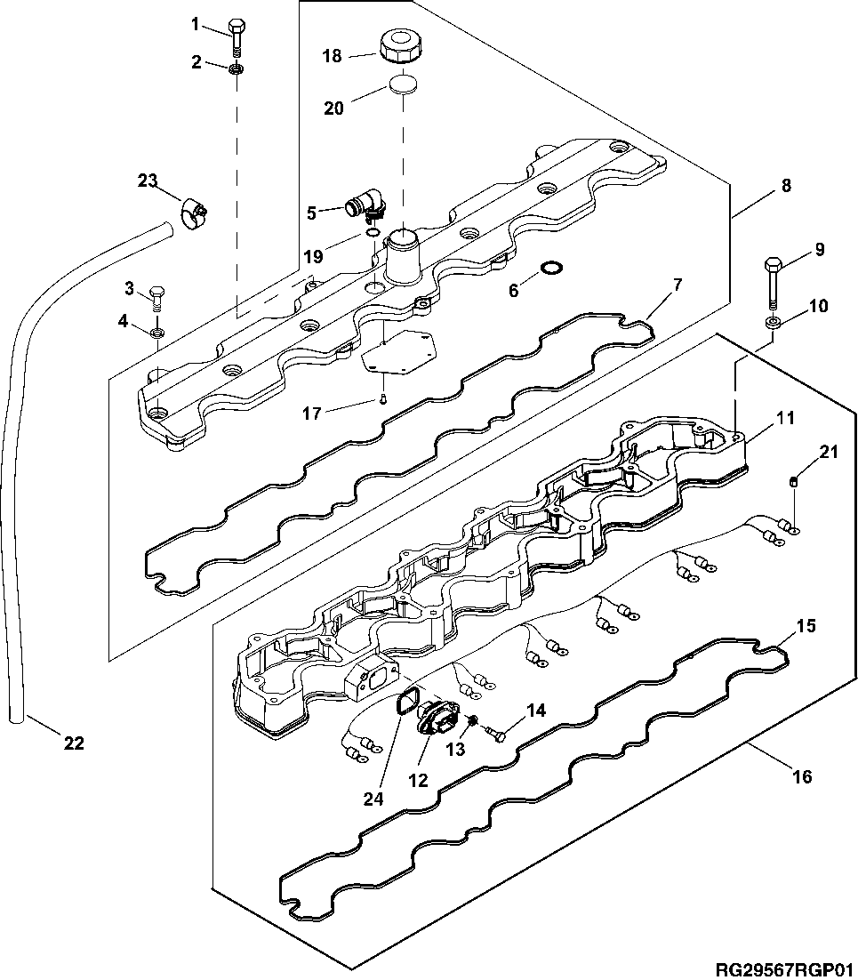
Запчасти John Deere 30CLC 48 - 1101 Rocker Arm Cover 0400A 6081HT002 6081HT002 6081HT002

Схема запчастей John Deere 30CLC - 48 - 1101 Rocker Arm Cover 0400A 6081HT002 6081HT002 6081HT002
FIT
1:1
100%

Артикул

Название

Примечание

Количество

1

19H2151

Cap Screw

1/4" X 3"

2шт.

2

24H1286

Washer

9/32" X 1/2" X 1/16"

2шт.

3

19H1914

Cap Screw

1/4" X 1"

6шт.

4

24H1286

Washer

9/32" X 1/2" X 1/16"

6шт.

5

R120467

Elbow Fitting

(CONTAINS R72328)

1шт.

6

R504093

Seal

4шт.

7

R502598

Seal

1шт.

8

RE505095

Valve Cover

1шт.

9

19H2334

Cap Screw

1/4" X 2-1/2"

6шт.

10

24H1286

Washer

9/32" X 1/2" X 1/16"

6шт.

11

R502695

Housing

1шт.

12

RE509048

Wiring Harness

1шт.

13

24H1287

Washer

9/32" X 5/8" X 0.065"

2шт.

14

19H2036

Cap Screw

1/4" X 7/8"

2шт.

15

R502719

Seal

1шт.

16

RE509265

Housing

1шт.

17

37H26

Screw

0.116" X 1/4"

5шт.

18

T20294

Cap

1шт.

19

R72328

O-Ring

1шт.

20

T20328

Gasket

1шт.

21

R134920

Nut

12шт.

22

TY22450

Bulk Hose

1шт.

23

AR21839

Clamp

1шт.

24

R520373

Seal

1шт.

Выбрано товаров: 24