Запчасти John Deere 30LC/370 88 - Radiator 0510 Engine Cooling Systems

Схема запчастей John Deere 30LC/370 - 88 - Radiator 0510 Engine Cooling Systems
FIT
1:1
100%

Артикул

Название

Примечание

Количество

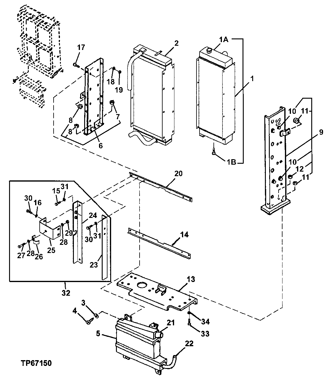
1

AT191240

Radiator

(SUB FOR AT180597)

1шт.

1A

AT182802

Filler Cap

1шт.

1B

AT13740

Drain Valve

1шт.

2

AT180598

Oil Cooler

(ALSO ORDER AT191205)(USE IF AVAILABLE) (I F AT180598 NOT AVAILABLE, FURNISH AT197819)

1шт.

AT197819

Oil Cooler

(SUB FOR AT191089)

1шт.

3

19M7785

Screw

M10 X 25

4шт.

4

24M7296

Washer

10.500 X 30 X 2.500 mm

4шт.

5

AT180599

Air Cooler

1шт.

6

AT180602

Channel

1шт.

7

14M7275

Nut

M12

1шт.

8

14M7276

Nut

M16

3шт.

9

AT180603

Support

1шт.

10

T72414

Bushing

4шт.

11

14M7276

Nut

M16

3шт.

12

14M7275

Nut

M12

2шт.

13

AT180607

Channel

1шт.

14

AT180604

Angle

1шт.

15

19M7785

Screw

M10 X 25

2шт.

16

24M7296

Washer

10.500 X 30 X 2.500 mm

4шт.

17

19M7881

Screw

M8 X 20

8шт.

18

24M7238

Washer

8.700 X 17 X 2 mm

8шт.

19

14M7273

Nut

M8

8шт.

20

AT180641

Angle

1шт.

21

T190410

Hose

(SUB FOR T161960)

1шт.

22

T161959

Hose

1шт.

23

AT186891

Angle

1шт.

24

AT187403

Angle

1шт.

25

T166763

Channel

(NOT REQUIRED WITH AT191089 OIL COOLER)

1шт.

26

4053697

Clamp

(SUB FOR TH101030)

1шт.

27

19M8088

Cap Screw

M12 X 75

1шт.

28

24M7240

Washer

13 X 25 X 3 mm

2шт.

29

14M7319

Lock Nut

M12

1шт.

30

19M7784

Screw

M10 X 20

6шт.

31

24M7239

Washer

10.700 X 21 X 2.500 mm

4шт.

32

Oil Cooler

OIL COOLER ( AT191205 NLA)

1шт.

33

19M7789

Screw

M12 X 30

7шт.

34

24M7240

Washer

13 X 25 X 3 mm

7шт.

Выбрано товаров: 37