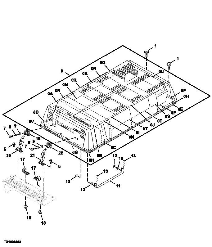
Запчасти John Deere 30LC/370 195 - Engine Cover 1910 Hood Or Engine Enclosure

Схема запчастей John Deere 30LC/370 - 195 - Engine Cover 1910 Hood Or Engine Enclosure
FIT
1:1
100%

Артикул

Название

Примечание

Количество

0

5005848J

Cover

SUB FOR AT250158 OR 5005848

1шт.

0A

4398584

Isolator

1шт.

0B

4398589

Isolator

1шт.

0C

4398581

Isolator

1шт.

0D

4398593

Isolator

1шт.

0E

Isolator

4398582 NLA

1шт.

0F

4398595

Isolator

1шт.

0G

4398599

Isolator

1шт.

0H

4398604

Isolator

2шт.

0J

4405535

Isolator

2шт.

0K

4405544

Isolator

1шт.

0L

Isolator

4405551 NLA

1шт.

0M

Isolator

4407375 NLA

1шт.

0N

4405545

Isolator

2шт.

0P

4405522

Isolator

2шт.

0Q

4405523

Isolator

1шт.

0R

4405540

Isolator

2шт.

0S

4405537

Isolator

1шт.

0T

4405538

Isolator

2шт.

0U

4405359

Isolator

1шт.

0V

4398598

Isolator

2шт.

1

19M7662

Cap Screw

M10 X 30

4шт.

12M7066

Lock Washer

10 mm

4шт.

24M7028

Washer

10.500 X 20 X 2 mm

4шт.

5

19M7881

Screw

M8 X 20

4шт.

12M7056

Lock Washer

8 mm

4шт.

7

21M7397

Screw

M8 X 25

4шт.

8

12M7056

Lock Washer

8 mm

4шт.

9

24M7055

Washer

8.400 X 16 X 1.600 mm

4шт.

11

4278783

Bracket

SUB FOR AT201025

1шт.

12

24M7053

Washer

17 X 30 X 3 mm

4шт.

13

M40461

Spring Locking Pin

4шт.

17

9749842

Bracket

SUB FOR AT250276

2шт.

18

19M7662

Cap Screw

M10 X 30

4шт.

24M7028

Washer

10.500 X 20 X 2 mm

4шт.

12M7066

Lock Washer

10 mm

4шт.

19

3021131

Anchor

SUB FOR TH102247

1шт.

20

3074568

Catch

SUB FOR AT131654

1шт.

21

3074568

Catch

SUB AT131654

1шт.

22

3021131

Anchor

SUB FOR TH102247

1шт.

Выбрано товаров: 40