Запчасти John Deere 30LC/370 202 - Main Hydraulic Pump Components 2160 Vehicle Hydraulics

Схема запчастей John Deere 30LC/370 - 202 - Main Hydraulic Pump Components 2160 Vehicle Hydraulics
FIT
1:1
100%

Артикул

Название

Примечание

Количество

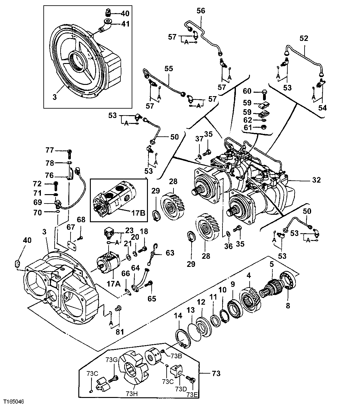
3

1026550

Gear Case

SUB FOR AT202600

1шт.

4

3035852

Gear

SUB FOR TH111138

1шт.

5

3081085

Pinion Shaft

SUB FOR AT219648

1шт.

8

M804206

Bearing

SUB FOR AT250102

1шт.

9

4720025

Ball Bearing

SUB FOR AT250103 AND 4395457

1шт.

10

40M7120

Snap Ring

1шт.

11

TH109453

Seal

1шт.

12

3033593

Cover

SUB FOR TH109454

1шт.

13

AT264339

O-Ring

SUB FOR TH100122

1шт.

14

40M5463

Snap Ring

1шт.

17A

9217993

Pump

SUB FOR TH109457 AND 4181700

1шт.

17B

9218031

Pump

SUB FOR AT188233 OR 42277 87; OPTIONAL, DOUBLE PUMP

1шт.

18

19M8337

Screw

M10 X 30

2шт.

20

12M7135

Lock Washer

10 mm

2шт.

21

4114402

Washer

SUB FOR TH102181

2шт.

23

4191974

Adapter Fitting

SUB FOR TH109459

1шт.

23A

4506418

O-Ring

SUB FOR U46489

1шт.

28

T200649

Helical Gear

SUB FOR TH111139 OR 3035853

2шт.

29

40M7166

Snap Ring

2шт.

32

9169054

Pump

NLA; ORDER 9169054EX

2шт.

9169054EX

Hydraulic Pump Reman

REMAN FOR 9169054; SUB FOR AT250259

2шт.

35

19M7489

Cap Screw

M16 X 45

8шт.

36

4126090

Sealing Washer

SUB FOR TH109463

4шт.

37

12H294

Lock Washer

5/8"

4шт.

40

4234782

Plug

SUB FOR AT200990

1шт.

41

15H621

Elbow Fitting

3/4"

1шт.

50

4192946

Oil Line

SUB FOR TH111242

2шт.

52

4192947

Oil Line

SUB FOR TH111243

1шт.

53

4293950

Fitting

SUB FOR TH109468 OR AT160584

5шт.

53A

M800650

Packing

1шт.

54

4203485

Fitting

SUB FOR TH109466

1шт.

54A

M800650

Packing

1шт.

55

3036249

Oil Line

SUB FOR TH111142

1шт.

56

3036486

Oil Line

SUB FOR TH111155

1шт.

57

4118499

Elbow Fitting

SUB FOR TH101821

4шт.

57A

M800650

Packing

1шт.

59

4179843

Clamp

SUB FOR TH109471

2шт.

60

19M7377

Cap Screw

M8 X 28

1шт.

61

14M7273

Nut

M8

1шт.

62

Washer

12M7065 NLA

1шт.

63

4721548

Gauge

SUB FOR TH112088 AND 4242263

1шт.

64

4242262

Oil Tube

SUB FOR TH112089

1шт.

65

19M7647

Screw

M8 X 16 SUB FOR AT217709

2шт.

66

9742779

Gasket

SUB FOR AT214401

1шт.

67

Identification Plate

1шт.

68

37H99

Screw

0.100" X 1/4"

2шт.

69

4265372

Sensor

SUB FOR AT154297

1шт.

70

4306888

O-Ring

SUB FOR AT154310

1шт.

71

24M7054

Washer

6.400 X 12 X 1.600 mm

1шт.

72

19M8553

Screw

M6 X 16

1шт.

73

4191663

Coupling

SUB FOR TH111234

1шт.

73B

22M7137

Set Screw

M16 X 16

2шт.

73C

34M7117

Spring Pin

5 X 10 mm

12шт.

73D

4216947

Insert

SUB FOR TH111402

4шт.

73E

4216949

Screw

SUB FOR TH111404

4шт.

73G

4216948

Screw

SUB FOR TH111403

4шт.

73H

4216944

Coupling

1шт.

76

4252767

Bracket

SUB FOR AT154206

1шт.

77

0209423

Bolt

SUB FOR TH100738

1шт.

78

12M7133

Lock Washer

6 mm

1шт.

81

9134111

Fitting

SUB FOR AT203648

1шт.

81A

CH11570

O-Ring

13.800 X 2.400 mm (0.543" X 3/32")

1шт.

Выбрано товаров: 62