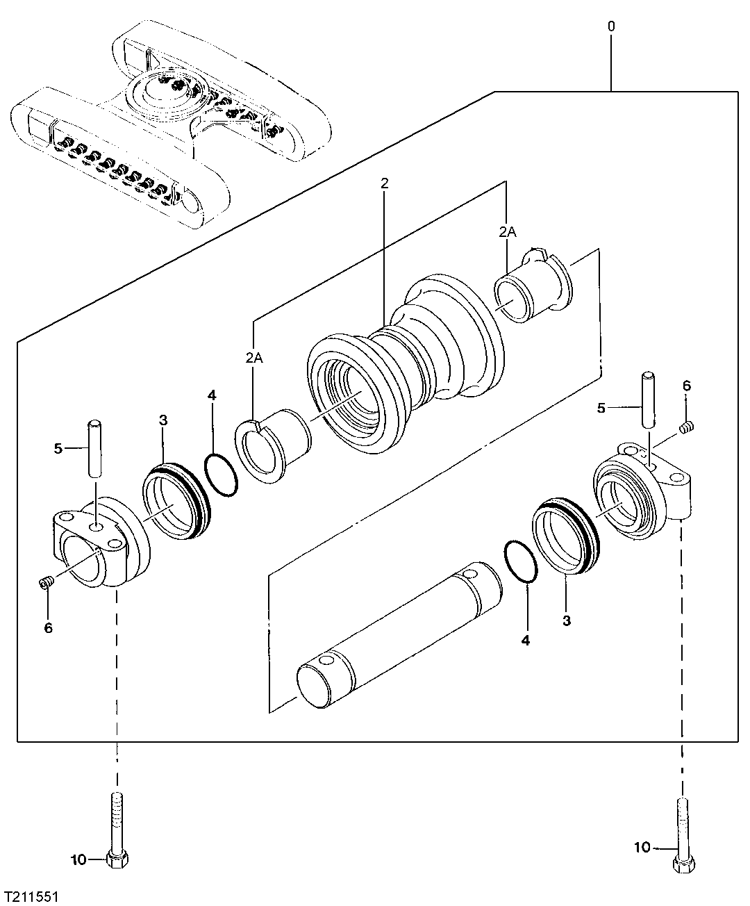
Запчасти John Deere 30LC/370 14 - Lower Roller 0130 Track Systems

Схема запчастей John Deere 30LC/370 - 14 - Lower Roller 0130 Track Systems
FIT
1:1
100%

Артикул

Название

Примечание

Количество

0

AT314421

Bottom Roller

SUB FOR AT250257 OR 9168173

18шт.

2

Roller

SUB FOR AT184357 OR 3081250, 9168671 NLA

1шт.

2A

Bushing

NLA

2шт.

3

AT180017

Seal

SUB FOR TH100433

2шт.

4

AT180019

O-Ring

CH14671 NOT USED FOR THIS APPLICATION

2шт.

5

T210830

Pin

SUB FOR TH100434 OR 94-2011

2шт.

6

AT180007

Fitting Plug

SUB FOR TH103158

2шт.

10

19M7963

Cap Screw

M20 X 100

72шт.

Выбрано товаров: 8