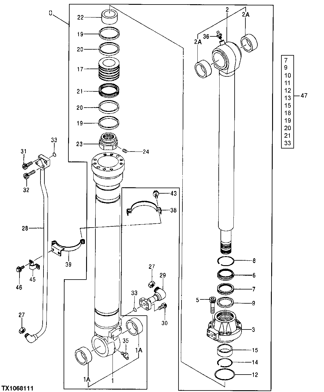
Запчасти John Deere 30LC/370 304 - Bucket Cylinder 3360 HYDRAULIC SYSTEM

Схема запчастей John Deere 30LC/370 - 304 - Bucket Cylinder 3360 HYDRAULIC SYSTEM
FIT
1:1
100%

Артикул

Название

Примечание

Количество

0

9173706JEX

Hydraulic Cylinder Reman

Reman

1шт.

Hydraulic Cylinder

0961501JEX, 9206361Y, TH9206361 AND 92 06361EX NLA Painted Part - Yellow Reman

1шт.

1

4646011

Hydraulic Cylinder Barrel

SUB FOR 9173709, 9206364, AT250173 OR A T250266, ALSO ORDER 3088557 AND 8079157

1шт.

3088557

Clamp

1шт.

8079157

Clamp

1шт.

4646011

Hydraulic Cylinder Barrel

SUB FOR PG201466

1шт.

1A

4358100

Bushing

SUB FOR AT217787

2шт.

2

7037769

Rod

SUB FOR AT250183

1шт.

7037769

Rod

1шт.

2A

4381857

Bushing

SUB FOR AT250028

2шт.

3

1022645

Hydraulic Cylinder Cap

SUB FOR AT181791

1шт.

5

19M8630

Screw

M24 X 80

8шт.

6

AT264294

Seal

SUB FOR AT217969 AND 4348201

1шт.

7

AT264408

Seal

(A) SUB FOR TH111216

1шт.

8

4369508

Ring

SUB FOR AT217983

1шт.

9

4389326

Ring

SUB FOR AT219666 AND AT264409

1шт.

10

AT264399

Back-Up Ring

(A) Not Illustrated

1шт.

11

AT264406

O-Ring

(A) Not Illustrated

1шт.

12

AT264274

O-Ring

(A) SUB FOR AT159582 AND 4267138

1шт.

13

AT264407

Seal

(A) Not Illustrated

1шт.

14

4264982

Snap Ring

SUB FOR AT131254

1шт.

15

AT264239

Bushing

(A) SUB FOR AT131420

1шт.

17

3080835

Piston

SUB FOR AT219645

1шт.

18

AT280433

Back-Up Ring

(A) Not Illustrated

1шт.

19

AT264400

Ring

(A) SUB FOR TH110062

2шт.

20

AT264401

Wear Ring

(A) SUB FOR TH110063

2шт.

21

AT264402

Ring

(A) SUB FOR TH110065

1шт.

22

4194625

Ring

SUB FOR TH111275

1шт.

23

3039348

Nut

SUB FOR TH111191

1шт.

24

4201806

Set Screw

SUB FOR TH110066

1шт.

27

4260204

Nut

SUB FOR AT219663

2шт.

28

8036941

Oil Line

SUB FOR TH111478

1шт.

29

8036940

Oil Line

SUB FOR TH111477

1шт.

30

19M8448

Screw

M12 X 35

4шт.

31

19M8341

Screw

M12 X 45

2шт.

32

19M8444

Screw

M12 X 60

2шт.

33

AT264324

O-Ring

(A) SUB FOR TH100044

2шт.

35

T116334

Lubrication Fitting

1шт.

36

TH100074

Lubrication Fitting

1шт.

38

3043349

Clamp

SUB FOR TH111883

2шт.

TH111883

Clamp

2шт.

39

8074320

Clamp

SUB FOR TH111988

2шт.

TH111988

Clamp

2шт.

43

19M7550

Cap Screw

M10 X 35

4шт.

12M7066

Lock Washer

10 mm

4шт.

45

4174241

Clamp

SUB FOR TH110059

2шт.

46

19M7402

Cap Screw

M10 X 25

4шт.

12M7066

Lock Washer

10 mm

4шт.

47

AT264430

Seal Kit

CONTAINS PARKS MARKED (A)

1шт.

Выбрано товаров: 49