Запчасти John Deere 330LC, 370 108 - FORESTRY CAB RIGHT SIDE PANEL 1810C Operator Enclosure (Forestry)

Схема запчастей John Deere 330LC, 370 - 108 - FORESTRY CAB RIGHT SIDE PANEL 1810C Operator Enclosure (Forestry)
FIT
1:1
100%

Артикул

Название

Примечание

Количество

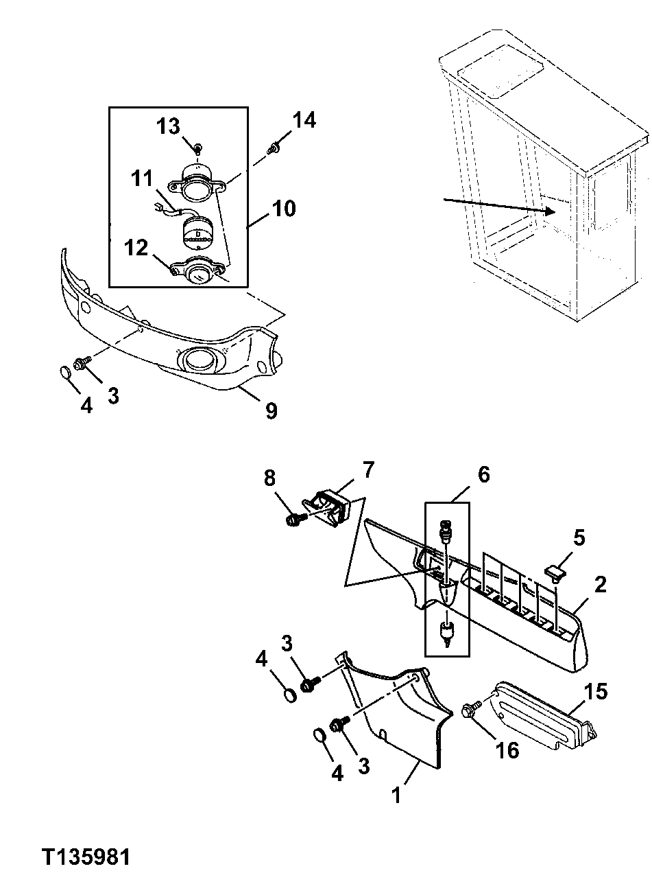
1

4350246

Cover

(SUB FOR AT213941)

1шт.

2

4350247

Cover

(SUB FOR AT213942)

1шт.

3

19M8425

Cap Screw

M6 X 16

5шт.

24M7293

Washer

6.500 X 13 X 1.600 mm

5шт.

12M7006

Lock Washer

6 mm

5шт.

4

4350779

Cap

(SUB FOR AT213950)

5шт.

5

4350778

Cap

(SUB FOR AT213949)

5шт.

6

AR60937

Electrical Lighter

(SUB FOR AT190190, 4357862)

1шт.

7

4350398

Ashtray

(SUB FOR AT213945)

1шт.

8

19M8425

Cap Screw

M6 X 16

2шт.

24M7293

Washer

6.500 X 13 X 1.600 mm (SUB FOR FFSB108338)

2шт.

12M7006

Lock Washer

6 mm

2шт.

9

4370316

Cover

1шт.

10

4370312

Hour Meter

(SUB FOR AT214258)

1шт.

11

4370313

Hour Meter

(SUB FOR AT214259)

1шт.

12

4370314

Lens

(SUB FOR AT214260)

1шт.

13

4335441

Screw

(SUB FOR AT213934 ) (SUB FOR 4349998)

1шт.

14

T116079

Screw

(SUB FOR AT155616 AND 4297101)

2шт.

15

4369567

Cover

(SUB FOR AT214077)

1шт.

16

19M7162

Cap Screw

M8 X 16 (SUB FOR AT214308 OR 43722 22, ALONG WITH 24M7036 AND 12M7065)

3шт.

24M7036

Washer

9 X 16 X 1.600 mm

3шт.

12M7065

Lock Washer

8 mm

3шт.

Выбрано товаров: 0