Запчасти John Deere 330LC, 370 127 - HEATER PIPING FOR ROADBUILDER WITH 48 INCH RISER 1830D Heating & Air Conditioning (Roadbuilder)

Схема запчастей John Deere 330LC, 370 - 127 - HEATER PIPING FOR ROADBUILDER WITH 48 INCH RISER 1830D Heating & Air Conditioning (Roadbuilder)
FIT
1:1
100%

Артикул

Название

Примечание

Количество

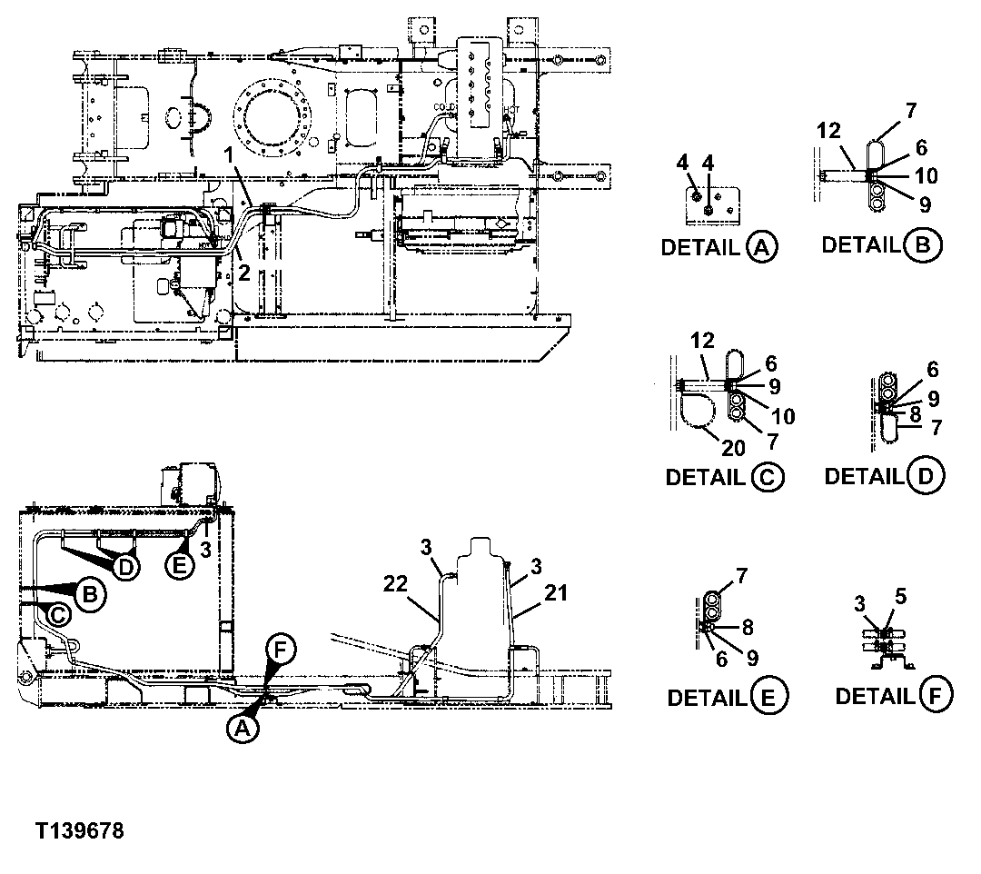
1

Hose

(SUB FOR FFSB108552 AND FFSB102915)(CUT TO LENGTH FROM TY22328 BULK MATERIAL - 4680 MM)

1шт.

2

Hose

(SUB FOR FFSB108553 AND FFSB1 02915)(FURNISH TY22328 BULK MA TERIAL CUT TO LENGTH - 4680 MM )

1шт.

3

FFSB102829

Clamp

8шт.

4

FFSB107437

Adapter Fitting

2шт.

5

FFSB107436

Fitting

4шт.

6

24M7028

Washer

10.500 X 20 X 2 mm (SUB FOR FFSB107142)

5шт.

7

FFSB102828

Clip

4шт.

8

14M7274

Nut

M10 (SUB FOR FFSB107411)

2шт.

9

12M7066

Lock Washer

10 mm (SUB FOR FFSB107961)

4шт.

10

19M7662

Cap Screw

M10 X 30 (SUB FOR FFSB107141)

2шт.

11

19M7662

Cap Screw

M10 X 30 (SUB FOR FFSB107141)

2шт.

12

FFSB107369

Nut

2шт.

13

R10093

O-Ring

(SUB FOR FFSB103060)

4шт.

14

811144800

O-Ring

(SUB FOR FFSB103061)

4шт.

15

FFSB103422

Fitting

1шт.

16

FFSB108420

Fitting

2шт.

17

FFSB108419

Fitting

1шт.

18

4201995

Grommet

(SUB FOR FFSB108008 ) (SUB FOR TH109396)

1шт.

19

19M7658

Cap Screw

M10 X 50 (SUB FOR FFSB10 7408 ) (SUB FOR 19M7179)

2шт.

20

R89288

Clamp

( FFSB105282 NO LONGER AVAILABLE)

1шт.

21

Hose

( FFSB107864 NOT AVAILABLE FOR SERVICE) (CUT TO LENGTH FROM T Y22328 BULK MATERIAL - 4200 MM)

1шт.

22

Hose

( FFSB107863 NOT AVAILABLE FOR SERVICE) (CUT TO LENGTH FROM T Y22328 BULK MATERIAL - 3600 MM)

1шт.

Выбрано товаров: 22