Запчасти John Deere 330LC, 370 133 - Log Deflector 1910A Hood Or Engine Enclosure

Схема запчастей John Deere 330LC, 370 - 133 - Log Deflector 1910A Hood Or Engine Enclosure
FIT
1:1
100%

Артикул

Название

Примечание

Количество

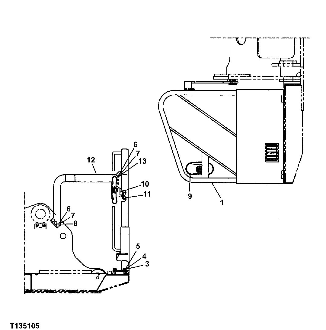
1

FFSB105907

Deflector

1шт.

3

24M7051

Washer

21 X 37 X 3 mm

4шт.

4

12M7070

Lock Washer

20 mm

4шт.

5

19M7597

Cap Screw

M20 X 50

4шт.

6

24M7338

Washer

17 X 30 X 3 mm

6шт.

7

12M7069

Lock Washer

16 mm

6шт.

8

19M7489

Cap Screw

M16 X 45 (SUB FOR 19M7396)

3шт.

9

4420724

Rear View Mirror

(SUB FOR AT185207)

1шт.

10

FFSB108050

Support

1шт.

11

19M7163

Cap Screw

M8 X 25

2шт.

12

FFSB106976

Brace

1шт.

13

19M7397

Cap Screw

M16 X 50

3шт.

24M7313

Washer

8.100 X 12 X 1.200 mm

6шт.

Выбрано товаров: 13