Запчасти John Deere 330LC, 370 139 - HYDRAULIC TILT CIRCUIT FOR UNITS WITH RESERVE HYDRAULIC TANK 2163A Hydraulic Lines & Hoses

Схема запчастей John Deere 330LC, 370 - 139 - HYDRAULIC TILT CIRCUIT FOR UNITS WITH RESERVE HYDRAULIC TANK 2163A Hydraulic Lines & Hoses
FIT
1:1
100%

Артикул

Название

Примечание

Количество

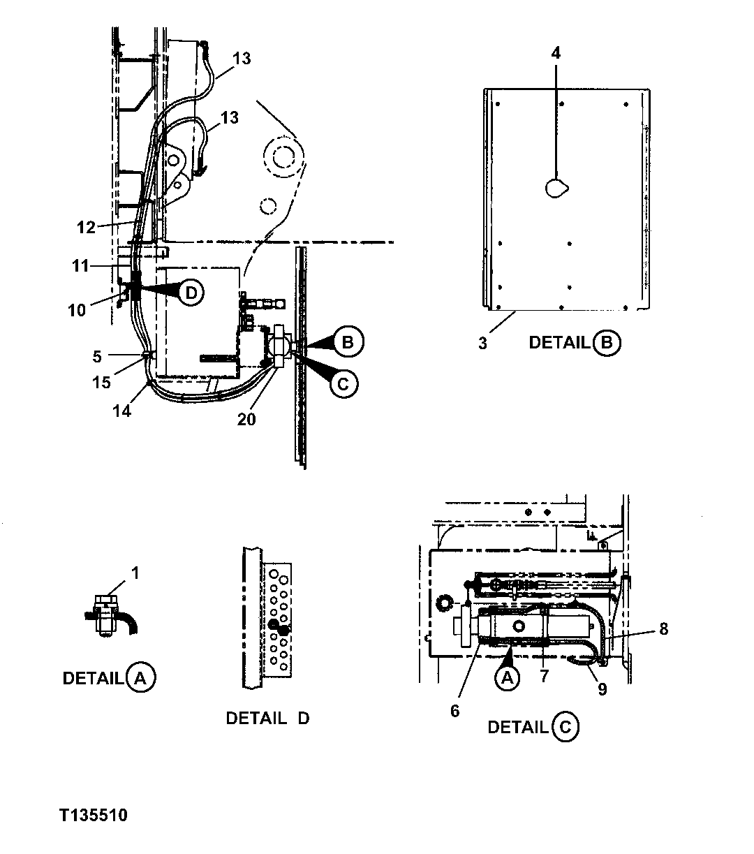
1

19M7403

Cap Screw

M12 X 35

4шт.

12H301

Lock Washer

1/2"

4шт.

3

FFSB106302

Cover

1шт.

4

3058180

Cap

(SUB FOR FFSB106310 ) (SUB FOR AT155242)

1шт.

5

T118385

Clamp

1шт.

6

X6CLO-S

Elbow Fitting

2шт.

7

H75541

Clamp

1шт.

8

FFSB107328

Hydraulic Hose

1шт.

9

FFSB107335

Hydraulic Hose

1шт.

10

X6WLO-WLNL-S

Union Fitting

(SUB FOR FFSB103491)

2шт.

11

FFSB107336

Hydraulic Hose

1шт.

12

FFSB107337

Hydraulic Hose

1шт.

13

X6-8CLO-S

Elbow Fitting

2шт.

14

R44302

Tie Band

4шт.

15

19M8324

Cap Screw

M10 X 16

1шт.

12M7066

Lock Washer

10 mm

1шт.

20

FFSB104999

Power Supply

1шт.

Выбрано товаров: 17