Запчасти John Deere 330LC, 370 145 - AIR HORN FOR UNITS WITH REAR ENTRY CAB 2200B Pneumatic Systems (Rear Entry Cab)

Схема запчастей John Deere 330LC, 370 - 145 - AIR HORN FOR UNITS WITH REAR ENTRY CAB 2200B Pneumatic Systems (Rear Entry Cab)
FIT
1:1
100%

Артикул

Название

Примечание

Количество

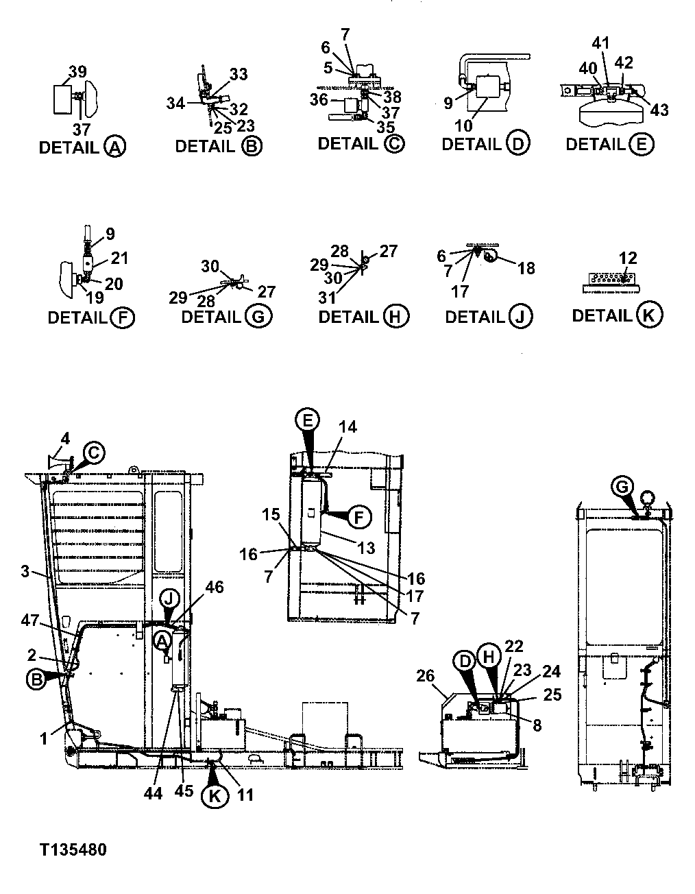
1

FFSB107703

Hydraulic Hose

1шт.

2

FFSB107632

Hydraulic Hose

1шт.

3

FFSB107631

Hydraulic Hose

1шт.

4

FFSB102136

Horn

1шт.

5

19M7168

Cap Screw

M10 X 30

4шт.

6

24M7028

Washer

10.500 X 20 X 2 mm

6шт.

7

12M7066

Lock Washer

10 mm

13шт.

8

FFSB103451

Compressor

1шт.

9

X6FTX-S

Adapter Fitting

2шт.

10

X1/4HP-S

Fitting Plug

6.350 mm (SUB FOR X01CP-4)

1шт.

11

FFSB107570

Hydraulic Hose

1шт.

12

R27238

Fitting

1шт.

13

FFSB102132

Tank

1шт.

14

FFSB104919

Bracket

1шт.

15

Bracket

( FFSB102139 NO LONGER AVAILABLE)

1шт.

16

19M7167

Cap Screw

M10 X 25

8шт.

17

14M7274

Nut

M10

5шт.

18

F010967

Hose Support

(SUB FOR FFSB104269)

1шт.

19

15H607

Pipe Bushing

1/4"

1шт.

20

X1/4CR-S

Elbow Fitting

6.350 mm

1шт.

21

FFSB102130

Check Valve

1шт.

22

19M7163

Cap Screw

M8 X 25

4шт.

23

24M7036

Washer

9 X 16 X 1.600 mm

6шт.

24

14M7273

Nut

M8

4шт.

25

12M7056

Lock Washer

8 mm (SUB FOR 12M7065)

6шт.

26

Plate

( FFSJ107710 NOT AVAILABLE FOR SERVICE)

1шт.

27

F053301

Holder

( FFSB102835 NO LONGER AVAILABLE)

2шт.

28

12M7006

Lock Washer

6 mm

2шт.

29

24M7054

Washer

6.400 X 12 X 1.600 mm

3шт.

30

19M7077

Cap Screw

M6 X 20

2шт.

31

14M7272

Nut

M6

1шт.

32

19M7881

Screw

M8 X 20

2шт.

33

Plate

( FFSJ106671 NOT AVAILABLE FOR SERVICE)

1шт.

34

X6WETX-WLN-S

Elbow Fitting

1шт.

35

X6CTX-S

Elbow Fitting

(SUB FOR X2103-4-6)

1шт.

36

FFSB108341

Flow Control Hyd. Valve

1шт.

37

T79627

Threaded Nipple

9.525 mm

2шт.

38

PMH1221

Reducer

9.525 mm

1шт.

39

FFSB102131

Pressure Switch

1шт.

40

X6-6FTX-S

Adapter Fitting

1шт.

41

X3/8MMS-S

Tee Fitting

9.525 mm

1шт.

42

PMH1309

Reducer

6.350 mm

1шт.

43

FFSB102134

Pressure Relief Valve

1шт.

44

FFSB102133

Drain Valve

1шт.

45

15H597

Coupling

3/8" (SUB FOR FFSB106932)

1шт.

46

FFSB103728

Wiring Harness

1шт.

47

FFSB102324

Tie Band

3шт.

49

FFSB109832

Filter

(FILTER ASSEMBLY)

1шт.

FFSB109807

Filter

1шт.

Выбрано товаров: 0